首页
专利数据库
产业人才
行业动态
产业政策法规
维权援助
个人中心
登录/注册
详情
文本
图像
标题:
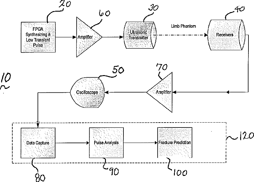
System and method for ultrasound analysis of biological structures
授权日:
1900-01-01
公开(公告)号:
US20130204132A1
申请日:
2013-03-15
公开(公告)日:
2013-08-08
当前申请(专利权)人:
NEW JERSEY INSTITUTE OF TECHNOLOGY
发明人:
CHANG, TIMOTHY M.
简单同族:
US20100210942A1 | US20130204132A1
简单同族成员数量:
2
简单同族被引用专利总数:
0
诉讼案件数:
0
法律状态/事件:
撤回