首页
专利数据库
产业人才
行业动态
产业政策法规
维权援助
个人中心
登录/注册
详情
文本
图像
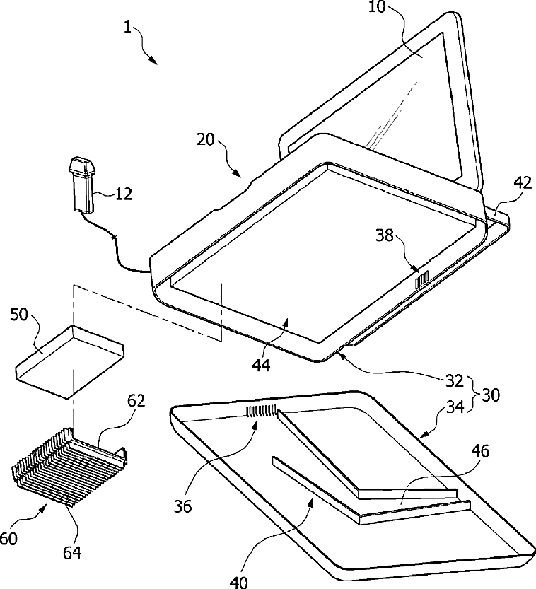
标题:
Natural exhaustion type ultrasonic diagnostic apparatus
授权日:
1900-01-01
公开(公告)号:
US20120215111A1
申请日:
2012-01-20
公开(公告)日:
2012-08-23
当前申请(专利权)人:
SAMSUNG MEDISON CO., LTD.
发明人:
WOO, KYEONG GU | KANG, HAK IL | KO, JAE YONG
简单同族:
EP2490098A1 | US20120215111A1
简单同族成员数量:
2
简单同族被引用专利总数:
0
诉讼案件数:
0
法律状态/事件:
撤回 | 权利转移