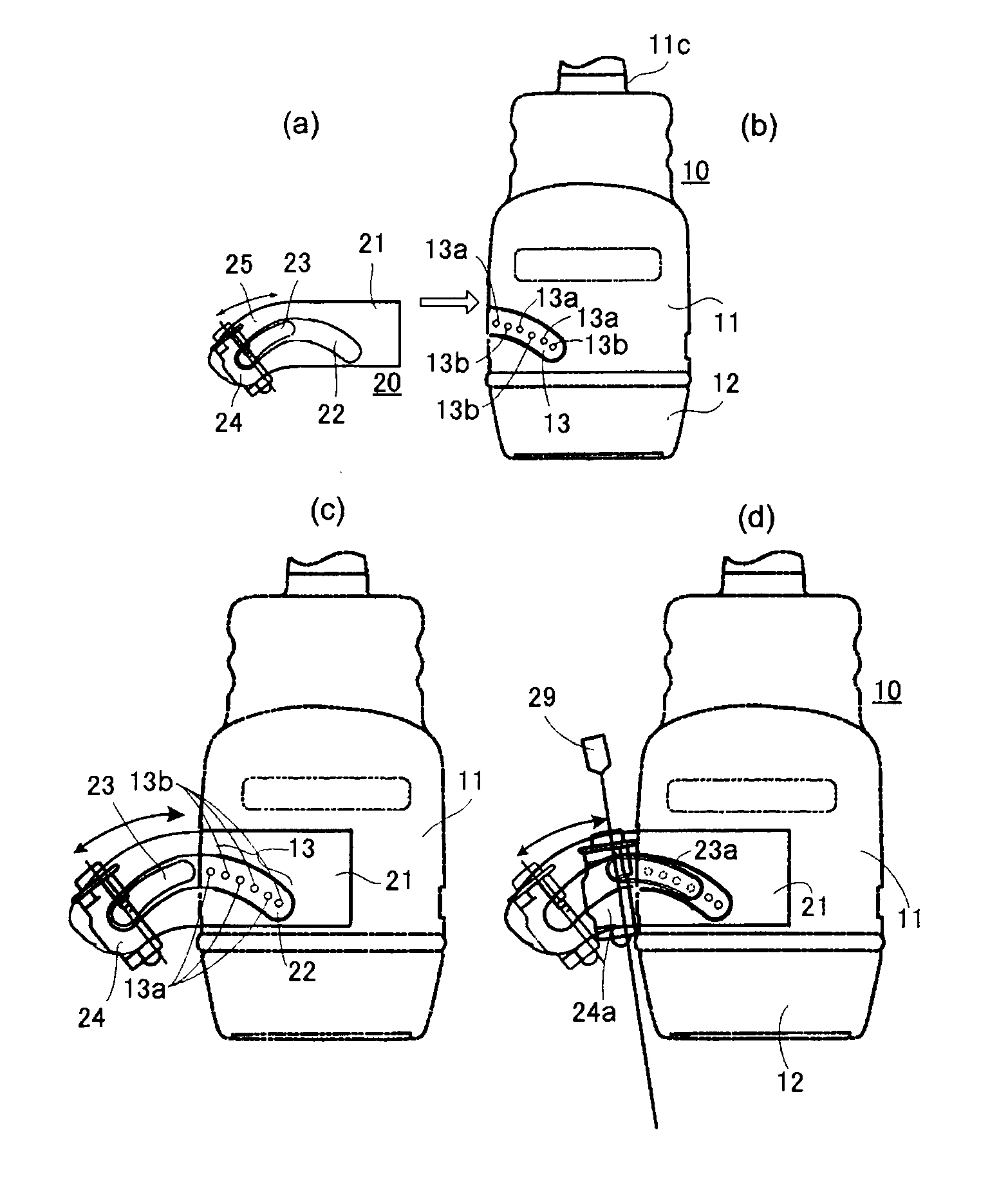
标题:
Puncture adaptor, ultrasonic probe for puncture, ultrasonic diagnostic apparatus for puncture, method for detecting angle of puncture needle
授权日:
1900-01-01
公开(公告)号:
US20100228131A1
申请日:
2009-10-02
公开(公告)日:
2010-09-09
当前申请(专利权)人:
TOSHIBA MEDICAL SYSTEMS CORPORATION
发明人:
OONUKI, YUTAKA | SHIKATA, HIROYUKI | TAKEUCHI, TAKASHI
简单同族:
CN100556367C | CN1911176A | US20070038113A1 | US20100228131A1 | US8216149
简单同族成员数量:
5
简单同族被引用专利总数:
101
诉讼案件数:
0
法律状态/事件:
授权 | 权利转移