首页
专利数据库
产业人才
行业动态
产业政策法规
维权援助
个人中心
登录/注册
详情
文本
图像
标题:
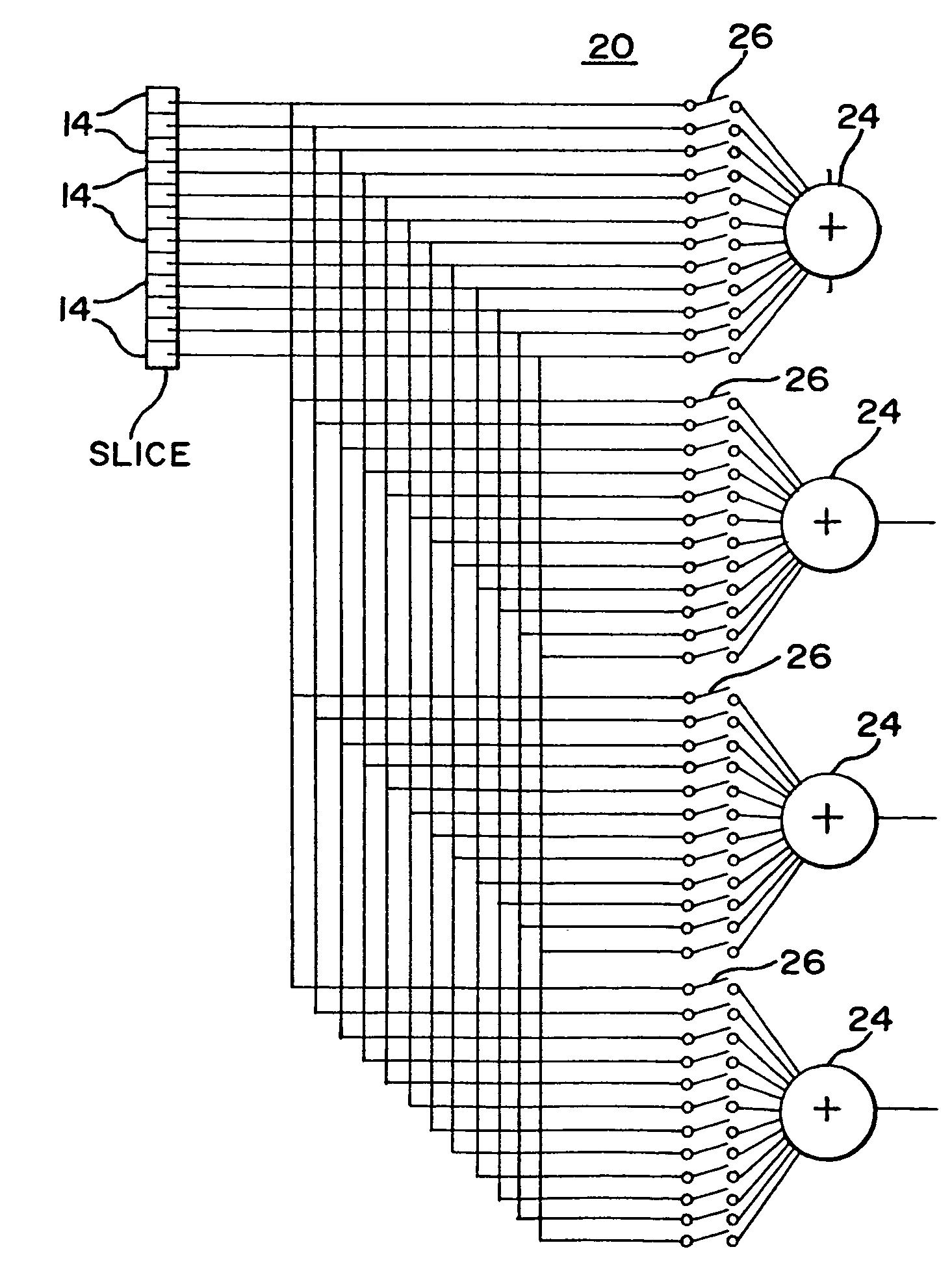
Subarray forming system and method for ultrasound
授权日:
2009-04-14
公开(公告)号:
US7517317
申请日:
2004-02-26
公开(公告)日:
2009-04-14
当前申请(专利权)人:
SIEMENS MEDICAL SOLUTIONS USA, INC.
发明人:
LAZENBY, JOHN C. | PETERSEN, DAVID A.
简单同族:
US20050192499A1 | US7517317
简单同族成员数量:
2
简单同族被引用专利总数:
39
诉讼案件数:
0
法律状态/事件:
授权 | 权利转移