首页
专利数据库
产业人才
行业动态
产业政策法规
维权援助
个人中心
登录/注册
详情
文本
图像
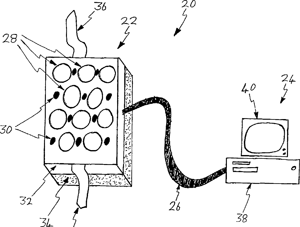
标题:
Method for phased array ultrasonic transmission
授权日:
1900-01-01
公开(公告)号:
US20020111568A1
申请日:
2001-04-10
公开(公告)日:
2002-08-15
当前申请(专利权)人:
SONATA TECHNOLOGIES CORPORATION
发明人:
BUKSHPAN, SHMUEL
简单同族:
US20020111568A1
简单同族成员数量:
1
简单同族被引用专利总数:
51
诉讼案件数:
0
法律状态/事件:
未缴年费 | 权利转移