标题:
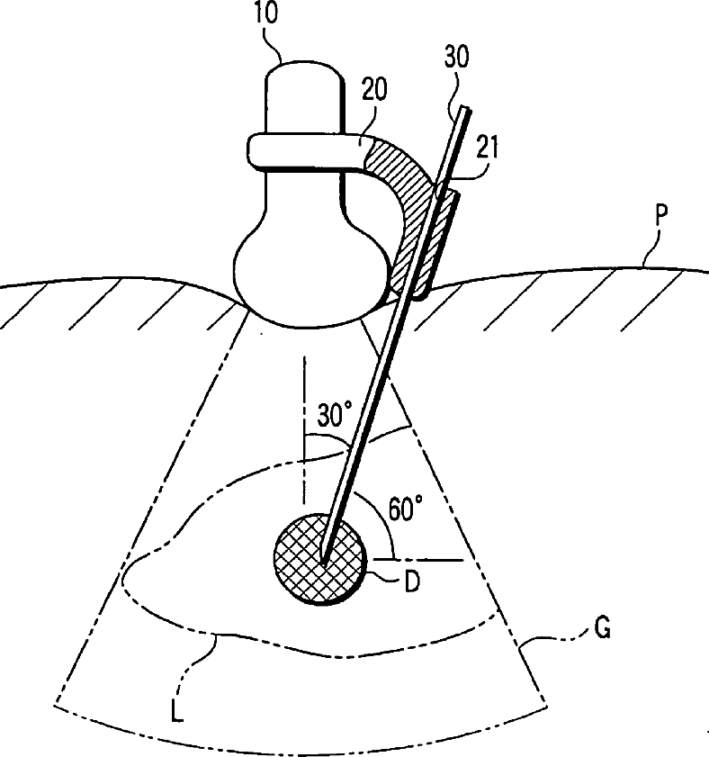
Ultrasonically guided puncturing needle
授权日:
1900-01-01
公开(公告)号:
US20060241489A1
申请日:
2006-03-20
公开(公告)日:
2006-10-26
当前申请(专利权)人:
KABUSHIKI KAISHA TOSHIBA | TOSHIBA MEDICAL SYSTEMS CORPORATION
发明人:
HIKI, SUSUMU | NAKAYA, SHIGEMITSU | KOSAKU, HIDEKI
简单同族:
CN1839769A | DE602006003113D1 | EP1707134A2 | EP1707134A3 | EP1707134B1 | EP1707134B9 | JP2006271874A | US20060241489A1 | US20110201938A1
简单同族成员数量:
9
简单同族被引用专利总数:
30
诉讼案件数:
0
法律状态/事件:
撤回 | 权利转移