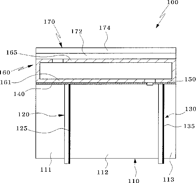
标题:
Probe for ultrasonic diagnostic apparatus and method of manufacturing the same
授权日:
1900-01-01
公开(公告)号:
US20150313574A1
申请日:
2015-06-24
公开(公告)日:
2015-11-05
当前申请(专利权)人:
SAMSUNG MEDISON CO., LTD.
发明人:
JUNG, JIN WOO | SEO, JEONG CHEOL | KIM, JAE YK
简单同族:
EP2230028A1 | EP2230028B1 | EP3189902A1 | JP2010220216A | KR101137262B1 | KR1020100104535A | US20100241004A1 | US20150313574A1 | US9095879 | US9538986
简单同族成员数量:
10
简单同族被引用专利总数:
24
诉讼案件数:
0
法律状态/事件:
授权