首页
专利数据库
产业人才
行业动态
产业政策法规
维权援助
个人中心
登录/注册
详情
文本
图像
标题:
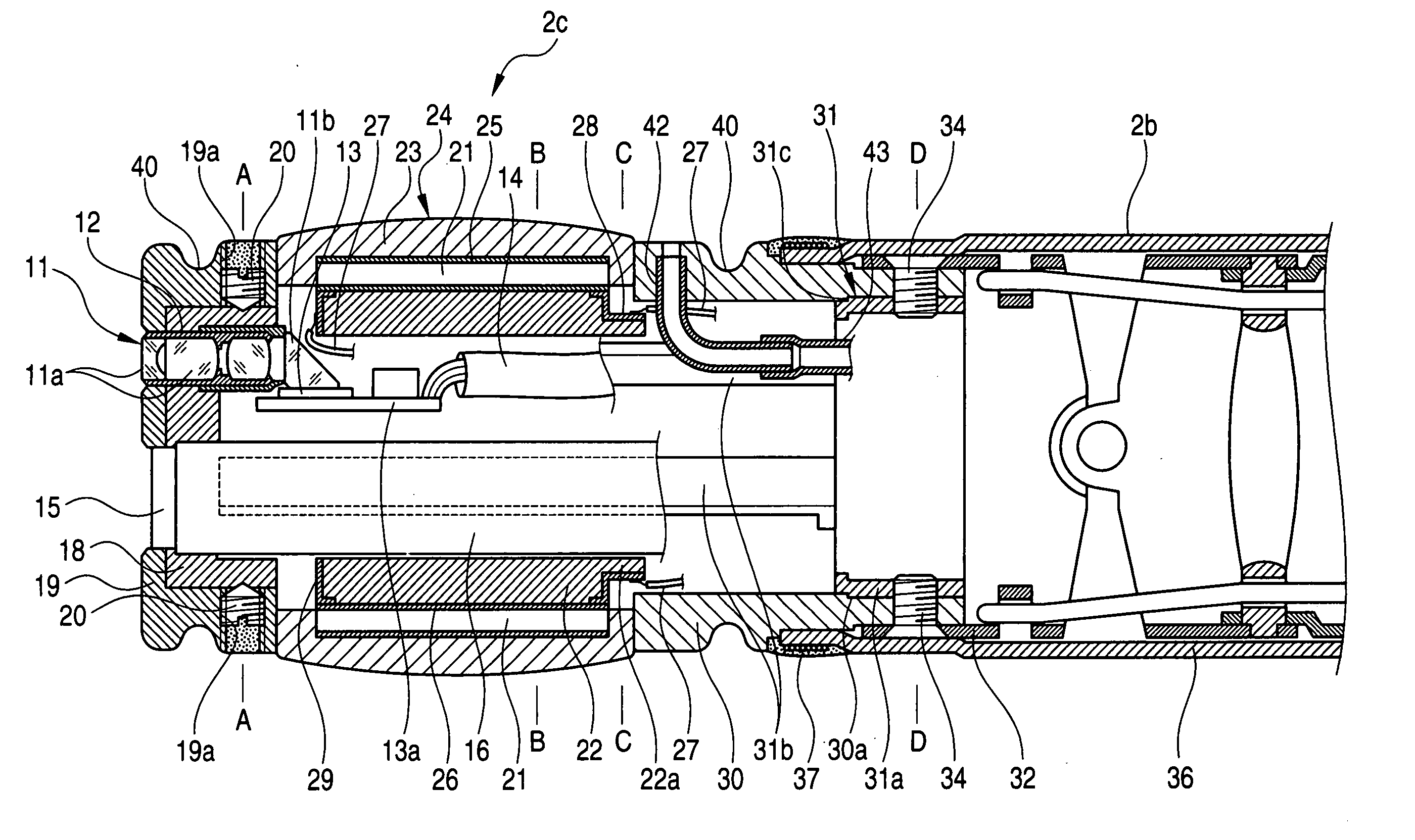
Ultrasonic endoscope
授权日:
1900-01-01
公开(公告)号:
US20060241481A1
申请日:
2006-03-30
公开(公告)日:
2006-10-26
当前申请(专利权)人:
FUJINON CORPORATION
发明人:
ITOI, HIROMU
简单同族:
AT395868T | DE602006001232D1 | EP1707125A1 | EP1707125B1 | JP2006280407A | JP4725162B2 | US20060241481A1 | US7744539
简单同族成员数量:
8
简单同族被引用专利总数:
22
诉讼案件数:
0
法律状态/事件:
授权 | 权利转移