标题:
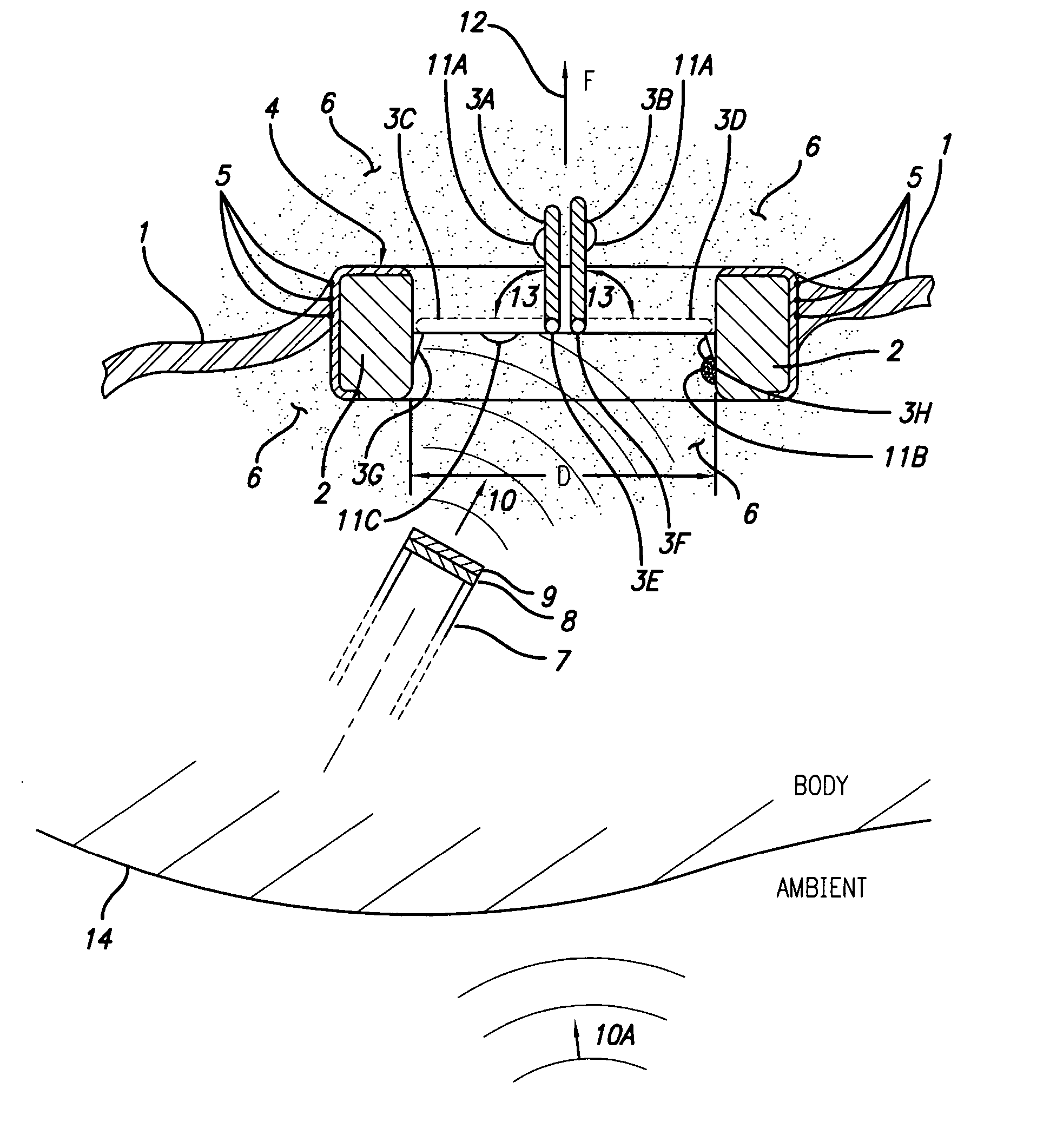
Non-contact damage-free ultrasonic cleaning of implanted or natural structures having moving parts and located in a living body
授权日:
1900-01-01
公开(公告)号:
US20040230117A1
申请日:
2004-04-16
公开(公告)日:
2004-11-18
当前申请(专利权)人:
TOSAYA CAROL A. | SLIWA JR. JOHN W.
发明人:
TOSAYA, CAROL A. | SLIWA, JOHN W. JR.
简单同族:
US20040230117A1 | US8083707
简单同族成员数量:
2
简单同族被引用专利总数:
118
诉讼案件数:
0
法律状态/事件:
未缴年费