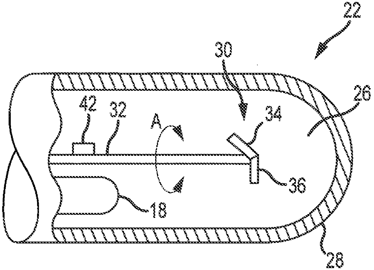
标题:
Ablation Catheter with Ultrasound Transducers for Lesion Assessment and an Ablation Method
授权日:
1900-01-01
公开(公告)号:
US20180303545A1
申请日:
2016-10-17
公开(公告)日:
2018-10-25
当前申请(专利权)人:
ST. JUDE MEDICAL, CARDIOLOGY DIVISION, INC.
发明人:
LUPOTTI, FERMIN A. | ROSENBERG, STUART | SLIWA, JOHN W. | SHAH, RIDDHI
简单同族:
US20180303545A1 | WO2017074726A1
简单同族成员数量:
2
简单同族被引用专利总数:
0
诉讼案件数:
0
法律状态/事件:
实质审查 | 权利转移