首页
专利数据库
产业人才
行业动态
产业政策法规
维权援助
个人中心
登录/注册
详情
文本
图像
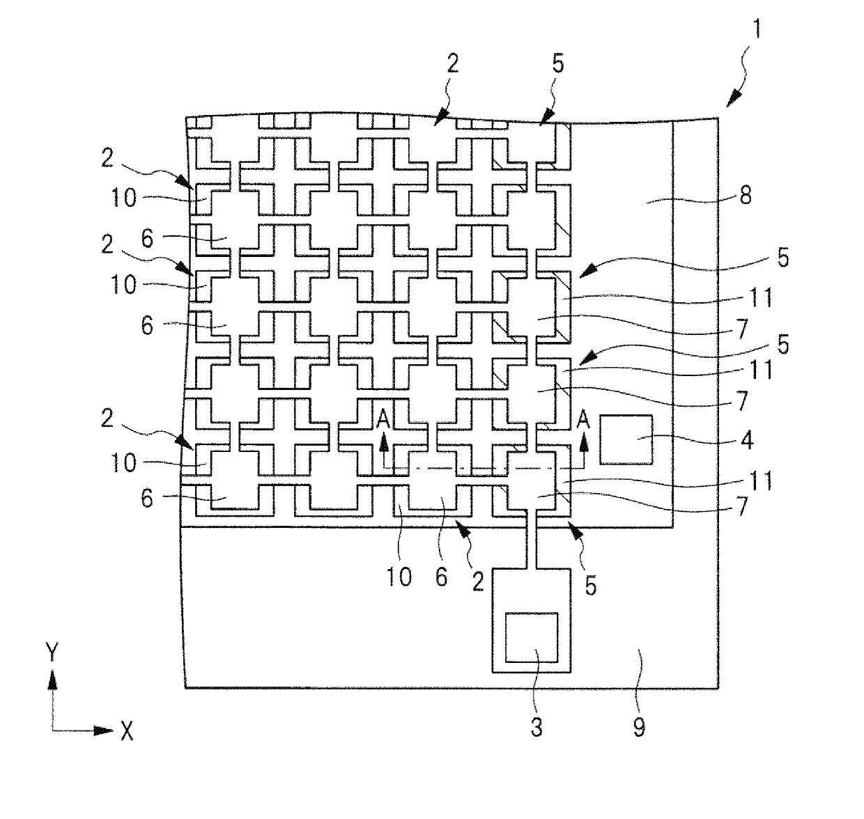
标题:
Ultrasonic examination device and ultrasonic probe
授权日:
1900-01-01
公开(公告)号:
US20190321000A1
申请日:
2019-01-11
公开(公告)日:
2019-10-24
当前申请(专利权)人:
HITACHI, LTD.
发明人:
TAKEZAKI, TAIICHI | HASEGAWA, HIROAKI | MACHIDA, SHUNTARO | IMAI, RYO | TANAKA, TOMOHIKO
简单同族:
EP3557244A1 | JP2019192979A | US20190321000A1
简单同族成员数量:
3
简单同族被引用专利总数:
0
诉讼案件数:
0
法律状态/事件:
公开 | 权利转移