首页
专利数据库
产业人才
行业动态
产业政策法规
维权援助
个人中心
登录/注册
详情
文本
图像
标题:
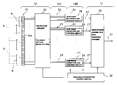
Ultrasound diagnosis apparatus
授权日:
2008-01-29
公开(公告)号:
US7322936
申请日:
2004-06-16
公开(公告)日:
2008-01-29
当前申请(专利权)人:
HITACHI, LTD.
发明人:
TAKEUCHI, HIDEKI
简单同族:
CN100441147C | CN1575771A | DE602004002806D1 | DE602004002806T2 | EP1491914A2 | EP1491914A3 | EP1491914B1 | US20040267126A1 | US7322936
简单同族成员数量:
9
简单同族被引用专利总数:
70
诉讼案件数:
0
法律状态/事件:
未缴年费 | 权利转移