首页
专利数据库
产业人才
行业动态
产业政策法规
维权援助
个人中心
登录/注册
详情
文本
图像
标题:
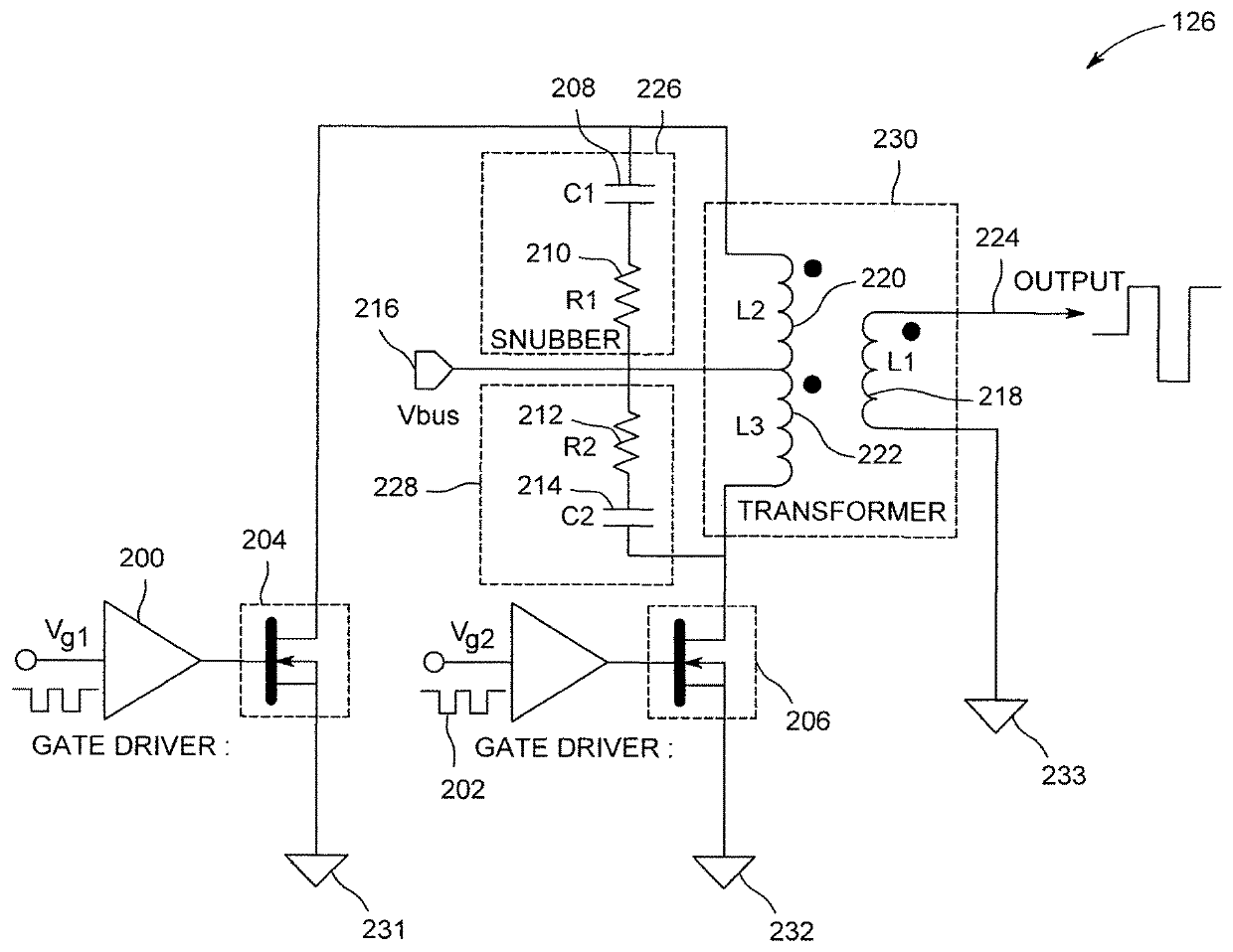
High power, high frequency pulser for use in ultrasound
授权日:
2020-01-21
公开(公告)号:
US10539667
申请日:
2017-01-06
公开(公告)日:
2020-01-21
当前申请(专利权)人:
GENERAL ELECTRIC COMPANY
发明人:
PENG, HAN | SABATE, JUAN ANTONIO | WALL, KIERAN ANDREW
简单同族:
US10539667 | US20180196129A1
简单同族成员数量:
2
简单同族被引用专利总数:
0
诉讼案件数:
0
法律状态/事件:
授权 | 权利转移