首页
专利数据库
产业人才
行业动态
产业政策法规
维权援助
个人中心
登录/注册
详情
文本
图像
标题:
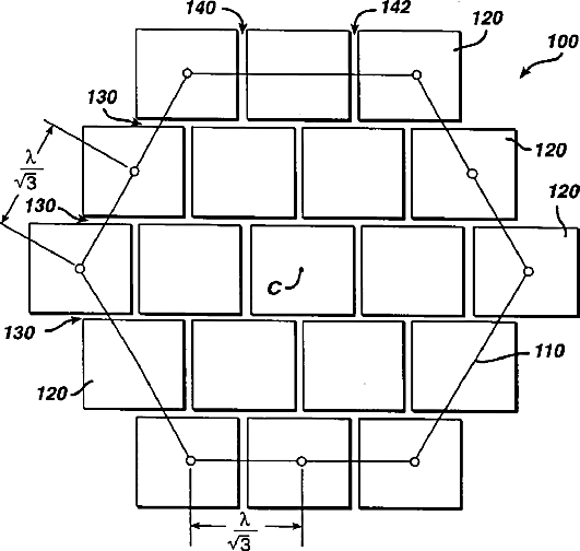
Hex packed two dimensional ultrasonic transducer arrays
授权日:
2002-05-07
公开(公告)号:
US6384516
申请日:
2000-01-21
公开(公告)日:
2002-05-07
当前申请(专利权)人:
ATL ULTRASOUND, INC.
发明人:
FRASER, JOHN DOUGLAS
简单同族:
EP1165258A1 | JP2003520526A | US20020130591A1 | US6384516 | US6469422 | WO2001053009A1
简单同族成员数量:
6
简单同族被引用专利总数:
118
诉讼案件数:
0
法律状态/事件:
未缴年费 | 权利转移