首页
专利数据库
产业人才
行业动态
产业政策法规
维权援助
个人中心
登录/注册
详情
文本
图像
标题:
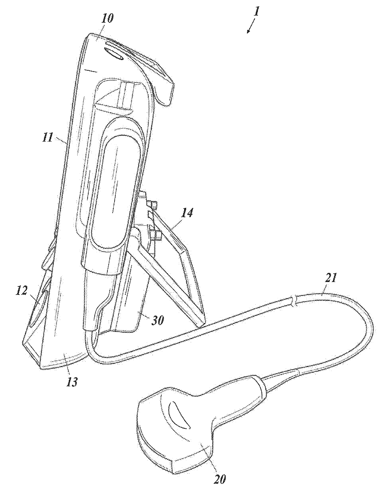
Ultrasound diagnostic apparatus and external battery unit thereof
授权日:
1900-01-01
公开(公告)号:
US20190223836A1
申请日:
2019-01-04
公开(公告)日:
2019-07-25
当前申请(专利权)人:
KONICA MINOLTA, INC.
发明人:
MURAMATSU, YUKI | SHIRAISHI, TAKAHIKO | NOGUCHI, SHINYA
简单同族:
JP2019122682A | US20190223836A1
简单同族成员数量:
2
简单同族被引用专利总数:
0
诉讼案件数:
0
法律状态/事件:
公开 | 权利转移