首页
专利数据库
产业人才
行业动态
产业政策法规
维权援助
个人中心
登录/注册
详情
文本
图像
标题:
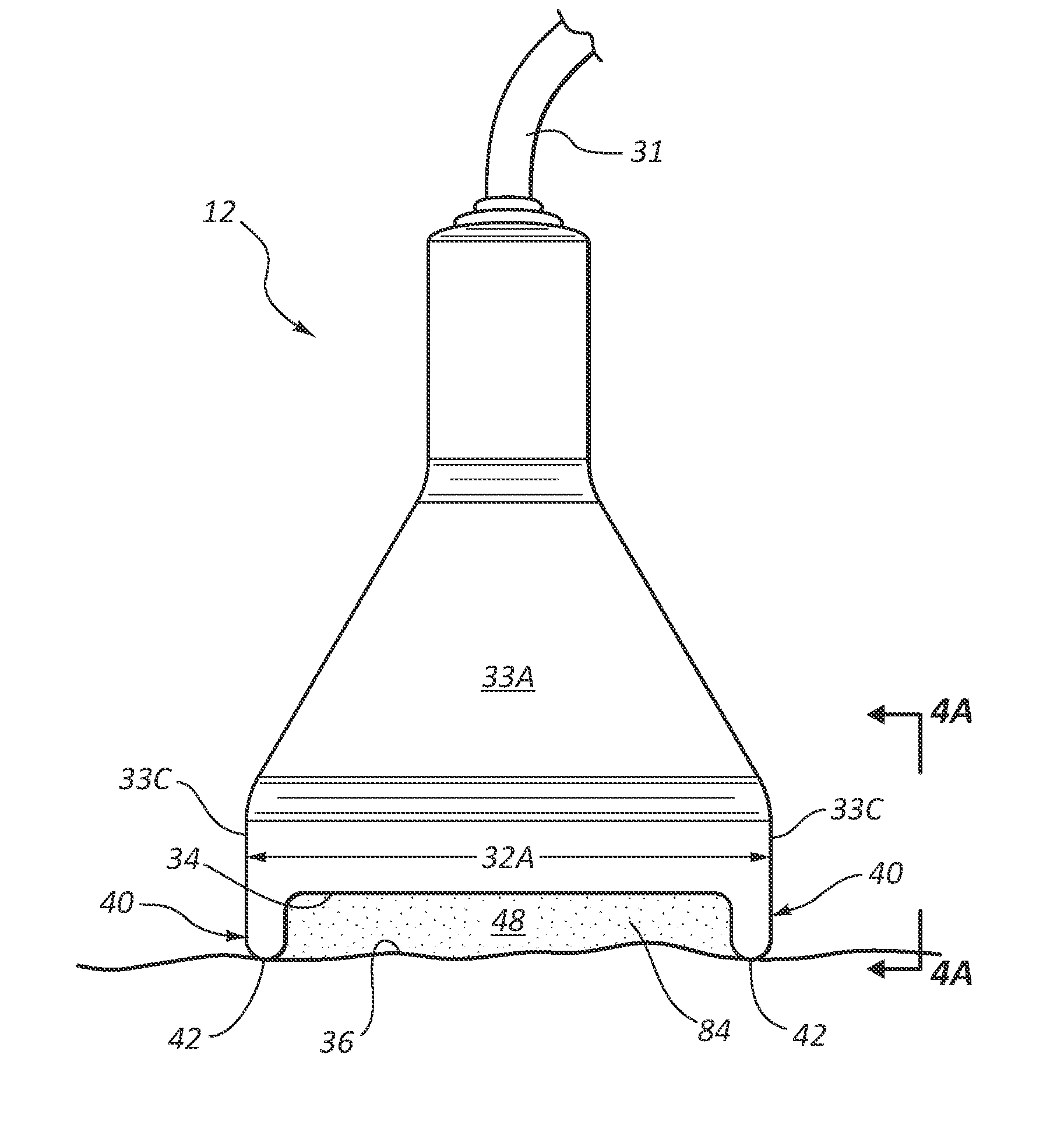
Spacers for use with an ultrasound probe
授权日:
1900-01-01
公开(公告)号:
US20110087107A1
申请日:
2010-10-08
公开(公告)日:
2011-04-14
当前申请(专利权)人:
C. R. BARD, INC.
发明人:
LINDEKUGEL, ERIC W. | BURNSIDE, EDDIE K. | COX, JEREMY B. | BLANCHARD, DANIEL B. | MORGAN, PAUL D. | STINGER, KEVIN W.
简单同族:
US20110087107A1 | WO2011044421A1
简单同族成员数量:
2
简单同族被引用专利总数:
66
诉讼案件数:
0
法律状态/事件:
实质审查 | 权利转移