首页
专利数据库
产业人才
行业动态
产业政策法规
维权援助
个人中心
登录/注册
详情
文本
图像
标题:
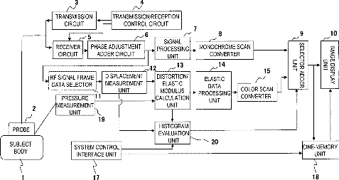
Ultrasonograph for Creating Elastic Image
授权日:
1900-01-01
公开(公告)号:
US20090143676A1
申请日:
2006-10-10
公开(公告)日:
2009-06-04
当前申请(专利权)人:
HITACHI MEDICAL CORPORATION
发明人:
MATSUMURA, TAKESHI
简单同族:
CN101291629A | CN101291629B | EP1938754A1 | EP1938754A4 | JP5303147B2 | JPWO2007046272A1 | JPWO2007046272A6 | US20090143676A1 | WO2007046272A1
简单同族成员数量:
9
简单同族被引用专利总数:
100
诉讼案件数:
0
法律状态/事件:
撤回 | 权利转移