首页
专利数据库
产业人才
行业动态
产业政策法规
维权援助
个人中心
登录/注册
详情
文本
图像
标题:
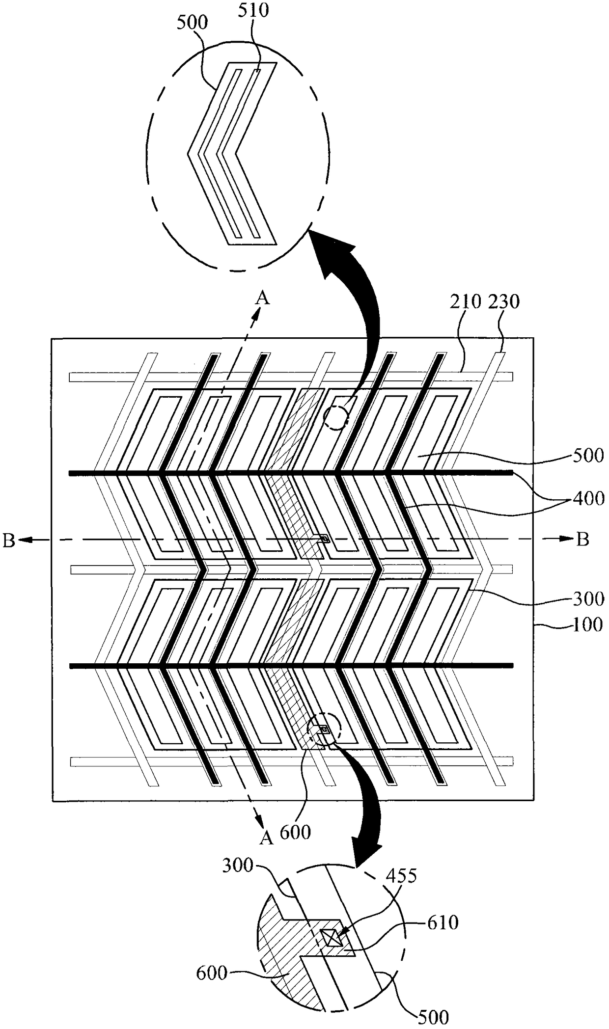
液晶显示设备
授权日:
1900-01-01
公开(公告)号:
CN102566174A
申请日:
2011-11-09
公开(公告)日:
2012-07-11
当前申请(专利权)人:
乐金显示有限公司
发明人:
申熙善 | 吴锦美 | 李汉锡
简单同族:
CN102566174A | CN102566174B | DE102011081444A1 | DE102011081444B4 | GB201114383D0 | GB2485865A | GB2485865B | KR101770319B1 | KR1020120056632A | TW201222110A | TWI461805B | US20120133858A1 | US8792061
简单同族成员数量:
13
简单同族被引用专利总数:
65
诉讼案件数:
0
法律状态/事件:
授权