首页
专利数据库
产业人才
行业动态
产业政策法规
维权援助
个人中心
登录/注册
详情
文本
图像
标题:
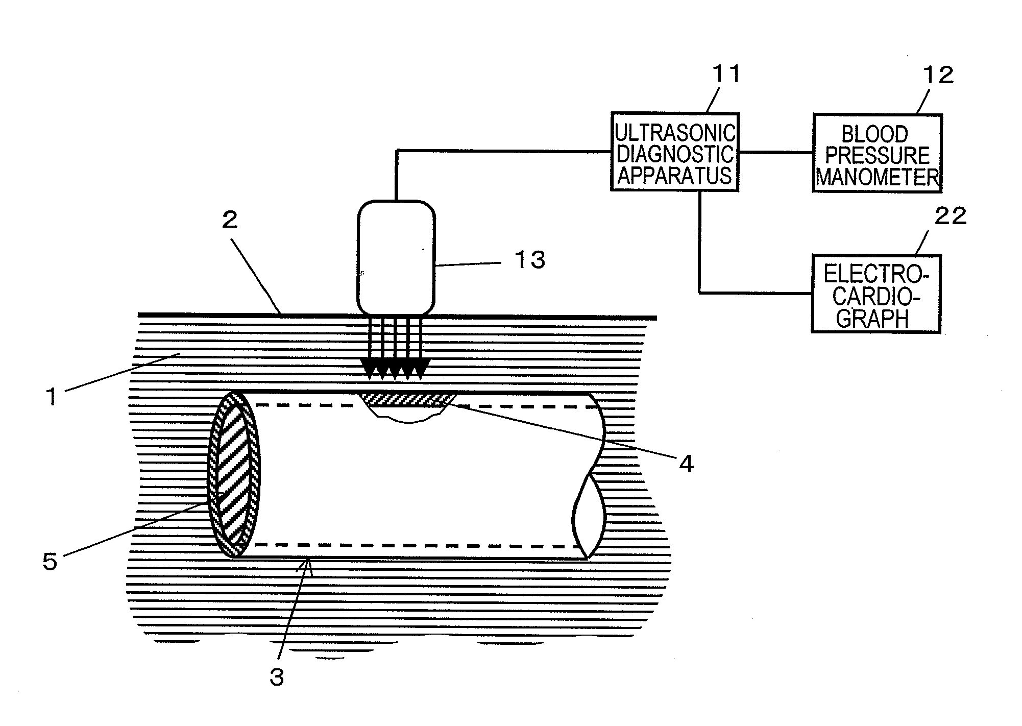
Ultrasonographic device
授权日:
1900-01-01
公开(公告)号:
US20100185090A1
申请日:
2008-07-14
公开(公告)日:
2010-07-22
当前申请(专利权)人:
PANASONIC CORPORATION
发明人:
SUZUKI, TAKAO | KATO, MAKOTO | KADOKURA, MASAHIKO | FUKUMOTO, TAKENORI
简单同族:
JPWO2009013871A1 | US20100185090A1 | WO2009013871A1
简单同族成员数量:
3
简单同族被引用专利总数:
43
诉讼案件数:
0
法律状态/事件:
撤回 | 权利转移