首页
专利数据库
产业人才
行业动态
产业政策法规
维权援助
个人中心
登录/注册
详情
文本
图像
标题:
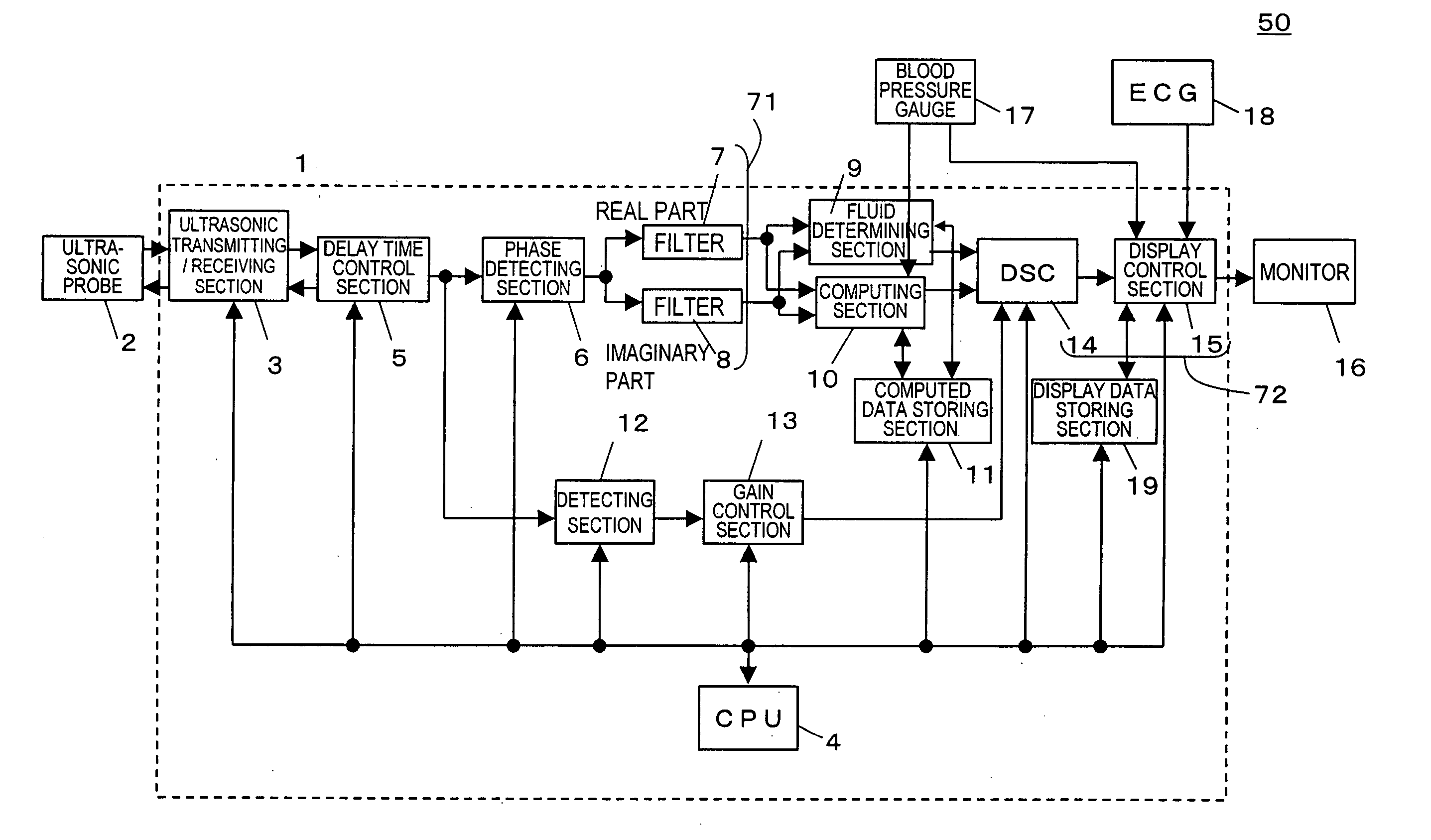
Ultrasonograph and method for controlling ultrasonograph
授权日:
1900-01-01
公开(公告)号:
US20050240101A1
申请日:
2004-03-03
公开(公告)日:
2005-10-27
当前申请(专利权)人:
KONICA MINOLTA, INC.
发明人:
KATO, MAKOTO | HASHIMOTO, MASAHIKO
简单同族:
EP1529491A1 | EP1529491A4 | JP3694019B2 | JPWO2004089222A1 | US20050240101A1 | US7404798 | WO2004089222A1
简单同族成员数量:
7
简单同族被引用专利总数:
74
诉讼案件数:
0
法律状态/事件:
未缴年费 | 权利转移