标题:
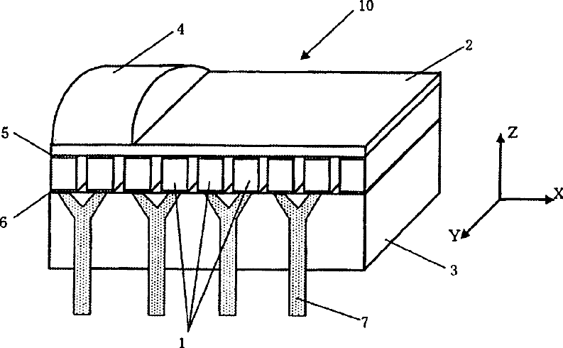
Ultrasonic probe
授权日:
1900-01-01
公开(公告)号:
US20130245453A1
申请日:
2013-05-02
公开(公告)日:
2013-09-19
当前申请(专利权)人:
KONICA MINOLTA, INC.
发明人:
SAITO, KOETSU
简单同族:
CN101379871A | CN101379871B | EP1981308A1 | EP1981308A4 | JP5037362B2 | JPWO2007088772A1 | KR101464769B1 | KR1020080094020A | KR1020130080860A | RU2008135361A | RU2419388C2 | US20090062655A1 | US20130245453A1 | US8454518 | US8986213 | WO2007088772A1
简单同族成员数量:
16
简单同族被引用专利总数:
24
诉讼案件数:
0
法律状态/事件:
授权 | 权利转移