首页
专利数据库
产业人才
行业动态
产业政策法规
维权援助
个人中心
登录/注册
详情
文本
图像
标题:
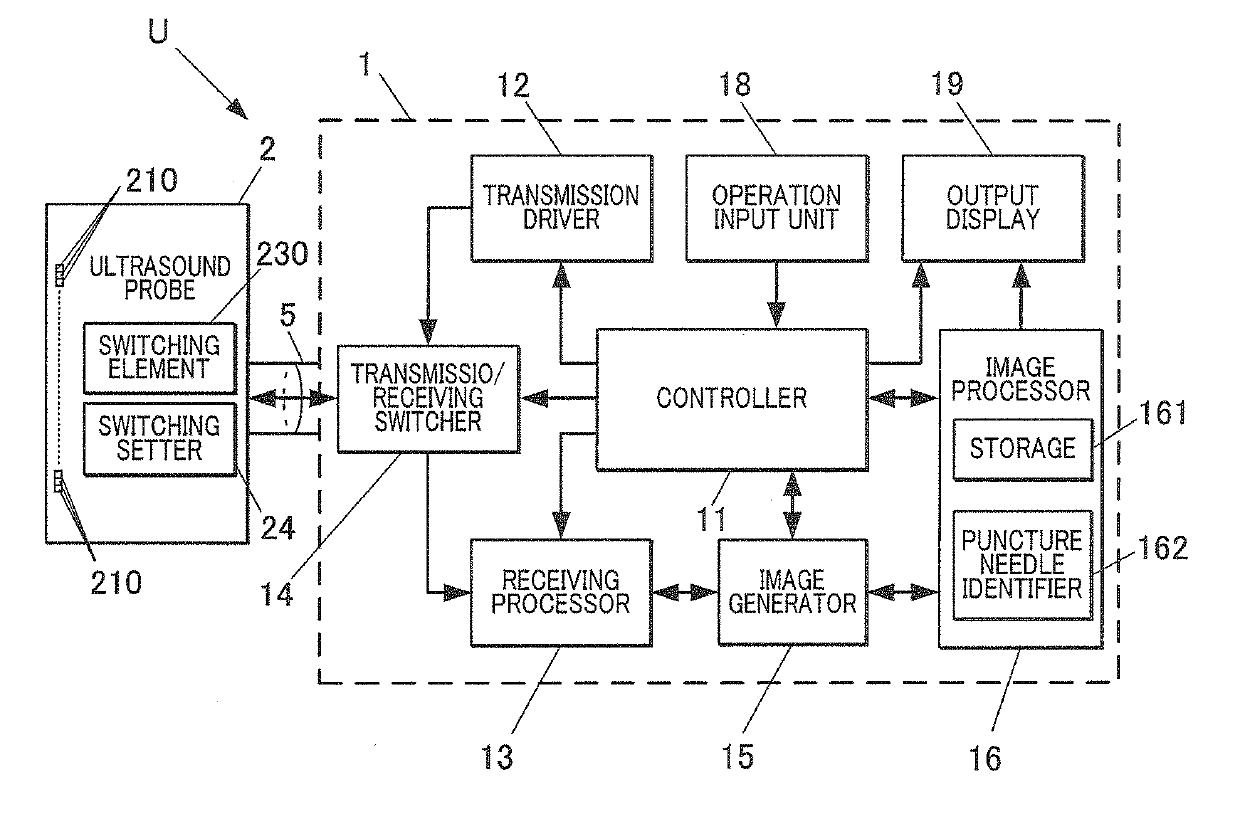
Ultrasound diagnostic apparatus
授权日:
1900-01-01
公开(公告)号:
US20190216429A1
申请日:
2019-01-15
公开(公告)日:
2019-07-18
当前申请(专利权)人:
KONICA MINOLTA, INC.
发明人:
SAKAI, TAKASHI | KIMOTO, TAKASHI | KAWABATA, AKIHIRO
简单同族:
JP2019122539A | US20190216429A1
简单同族成员数量:
2
简单同族被引用专利总数:
0
诉讼案件数:
0
法律状态/事件:
公开 | 权利转移