标题:
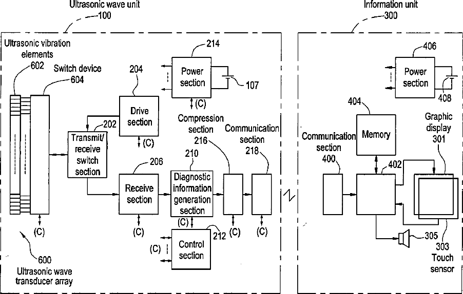
Diagnostic information generation apparatus and ultrasonic diagnostic system
授权日:
1900-01-01
公开(公告)号:
US20030181811A1
申请日:
2003-03-18
公开(公告)日:
2003-09-25
当前申请(专利权)人:
GE MEDICAL SYSTEMS GLOBAL TECHNOLOGY COMPANY, LLC
发明人:
AMEMIYA, SHINICHI | OHSUMI, RYOTA
简单同族:
CN100482170C | CN1444908A | DE10311945A1 | JP2003265468A | US20030181811A1 | US6855113
简单同族成员数量:
6
简单同族被引用专利总数:
48
诉讼案件数:
0
法律状态/事件:
未缴年费 | 权利转移