首页
专利数据库
产业人才
行业动态
产业政策法规
维权援助
个人中心
登录/注册
详情
文本
图像
标题:
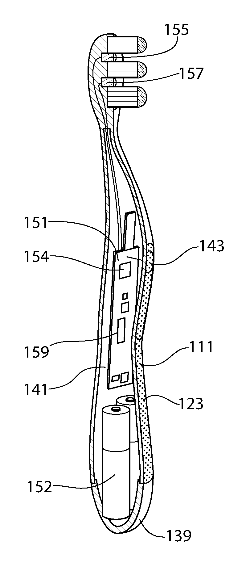
Ultrasonic System and Method for Detecting a Biofilm on a Tooth
授权日:
1900-01-01
公开(公告)号:
US20190142365A1
申请日:
2018-11-12
公开(公告)日:
2019-05-16
当前申请(专利权)人:
COLGATE-PALMOLIVE COMPANY
发明人:
ZHANG, XIAONAN | SORRENTINO, ALAN | DAEP, CARLO | WU, ZI
简单同族:
AU2018368331A1 | US20190142365A1 | WO2019099312A1
简单同族成员数量:
3
简单同族被引用专利总数:
0
诉讼案件数:
0
法律状态/事件:
实质审查