首页
专利数据库
产业人才
行业动态
产业政策法规
维权援助
个人中心
登录/注册
详情
文本
图像
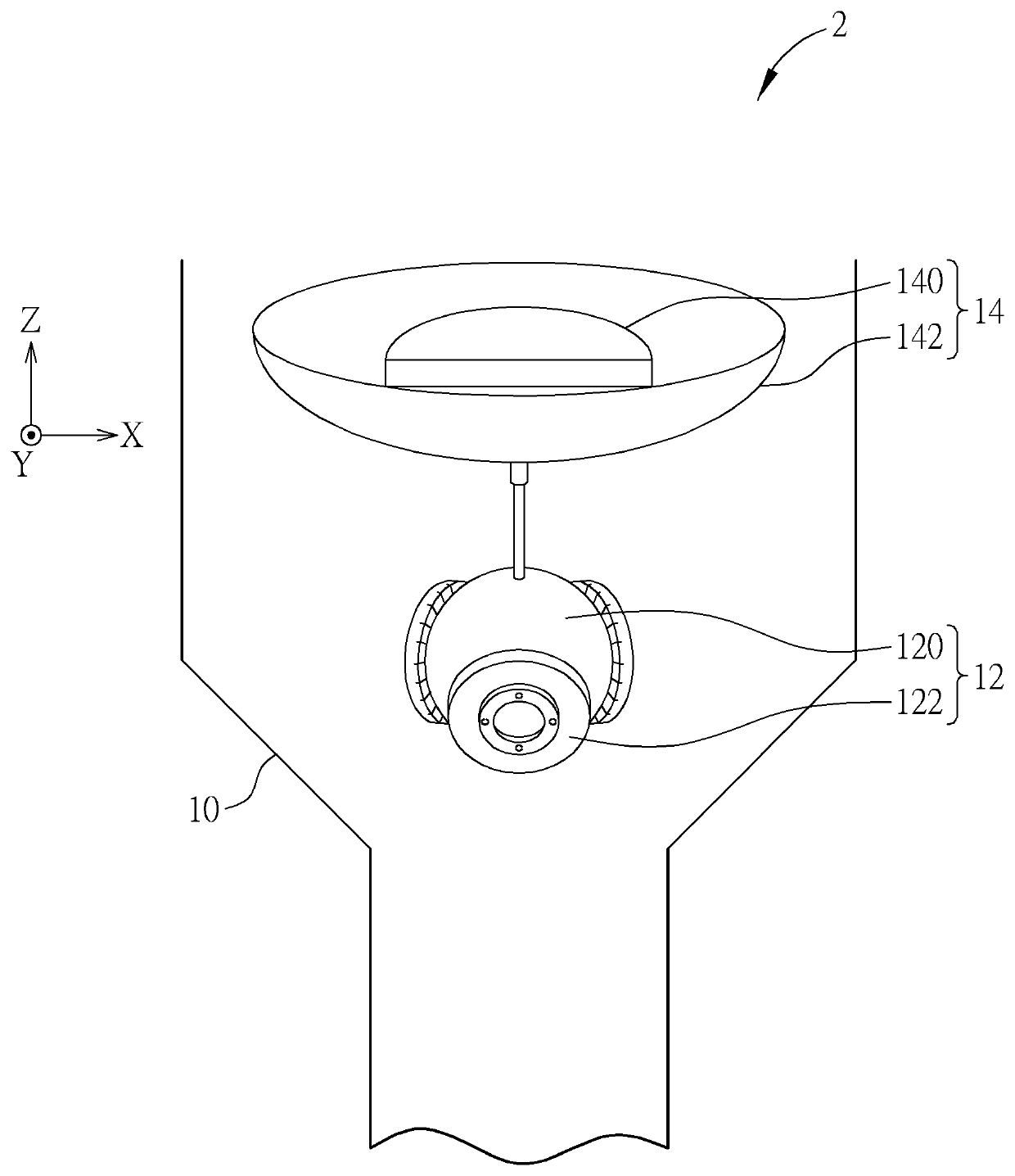
标题:
Ultrasound probe
授权日:
1900-01-01
公开(公告)号:
US20190374202A1
申请日:
2019-05-12
公开(公告)日:
2019-12-12
当前申请(专利权)人:
QISDA CORPORATION
发明人:
CHEN, CHU-CHIANG
简单同族:
TW202000136A | US20190374202A1
简单同族成员数量:
2
简单同族被引用专利总数:
0
诉讼案件数:
0
法律状态/事件:
实质审查 | 权利转移