首页
专利数据库
产业人才
行业动态
产业政策法规
维权援助
个人中心
登录/注册
详情
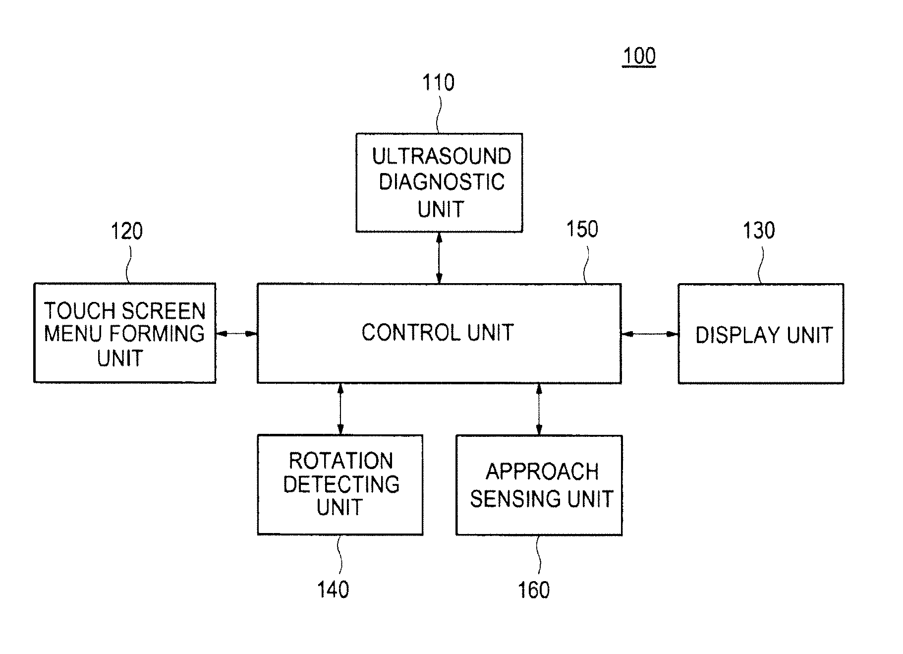
文本
图像
标题:
User interface in an ultrasound system
授权日:
2014-06-10
公开(公告)号:
US8747322
申请日:
2013-05-20
公开(公告)日:
2014-06-10
当前申请(专利权)人:
SAMSUNG MEDISON CO., LTD.
发明人:
KIM, HYOUNG, JIN
简单同族:
EP2110764A1 | JP2009240779A | JP5475304B2 | KR101055530B1 | KR1020090103290A | US20090247874A1 | US20130253323A1 | US8517946 | US8747322
简单同族成员数量:
9
简单同族被引用专利总数:
42
诉讼案件数:
0
法律状态/事件:
授权