标题:
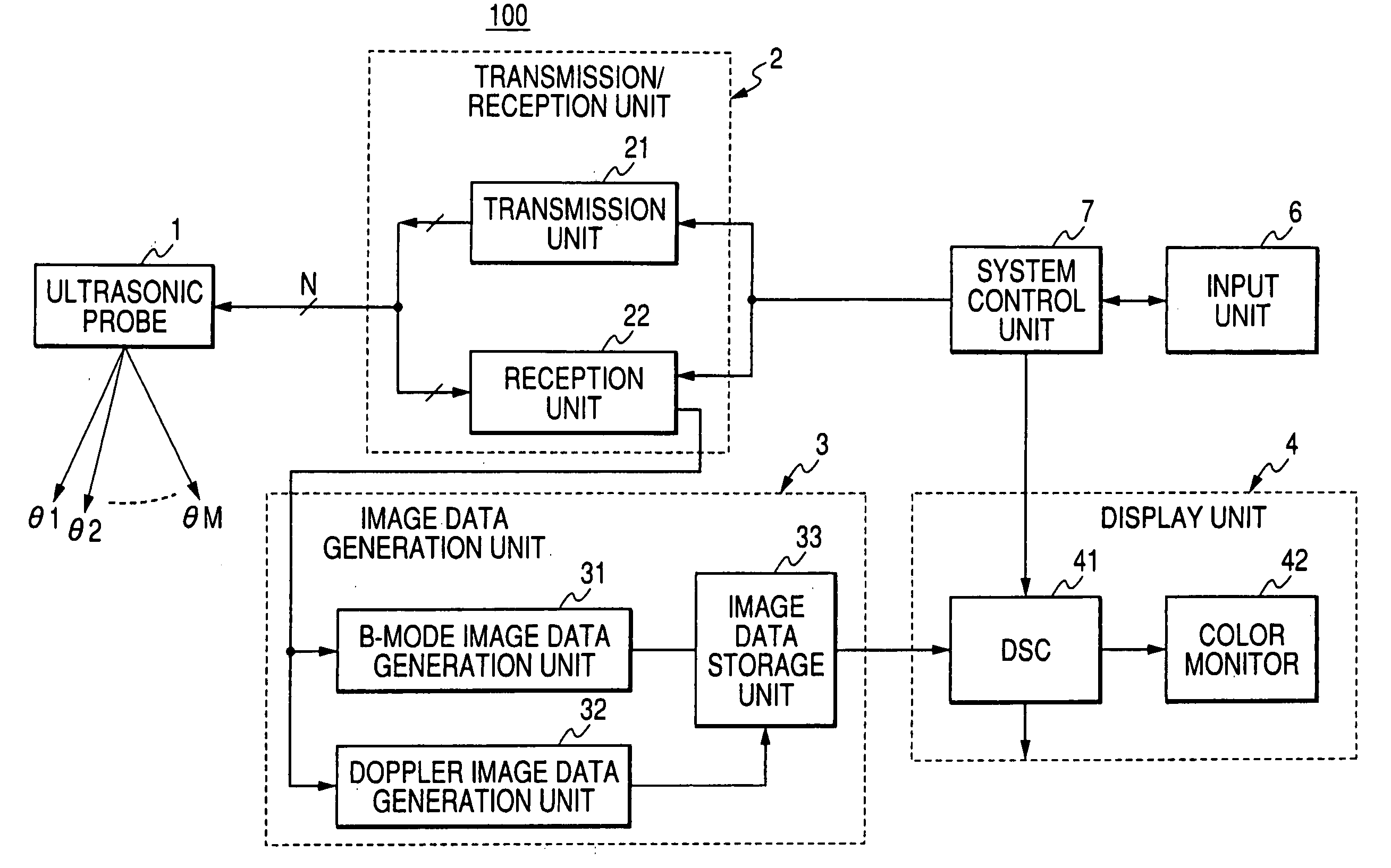
Ultrasonic diagnostic equipment and method of controlling ultrasonic diagnostic equipment
授权日:
1900-01-01
公开(公告)号:
US20050148875A1
申请日:
2004-12-16
公开(公告)日:
2005-07-07
当前申请(专利权)人:
TOSHIBA MEDICAL SYSTEMS CORPORATION
发明人:
SATO, TAKESHI
简单同族:
CN100387199C | CN1644168A | EP1548462A1 | EP1548462B1 | JP2005176997A | JP4504004B2 | US20050148875A1 | US7713198
简单同族成员数量:
8
简单同族被引用专利总数:
55
诉讼案件数:
0
法律状态/事件:
授权 | 权利转移