首页
专利数据库
产业人才
行业动态
产业政策法规
维权援助
个人中心
登录/注册
详情
文本
图像
标题:
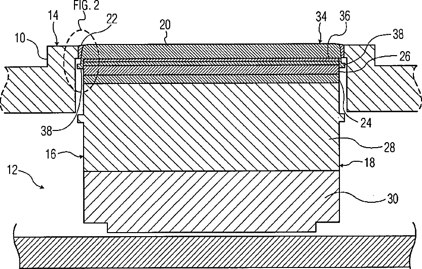
Transducer assembly for ultrasound probes
授权日:
1900-01-01
公开(公告)号:
US20050165313A1
申请日:
2005-01-21
公开(公告)日:
2005-07-28
当前申请(专利权)人:
KONINKLIJKE PHILIPS ELECTRONICS, N.V.
发明人:
BYRON, JACQUELYN M.B. | KNOWLES, HEATHER BECK
简单同族:
US20050165313A1
简单同族成员数量:
1
简单同族被引用专利总数:
85
诉讼案件数:
0
法律状态/事件:
撤回 | 权利转移