首页
专利数据库
产业人才
行业动态
产业政策法规
维权援助
个人中心
登录/注册
详情
文本
图像
标题:
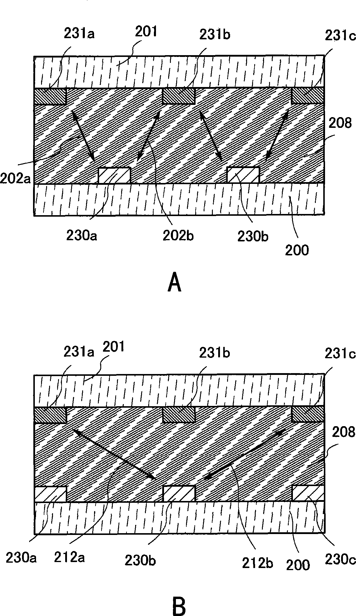
液晶显示器件
授权日:
2015-01-14
公开(公告)号:
CN101762913B
申请日:
2009-12-24
公开(公告)日:
2015-01-14
当前申请(专利权)人:
株式会社半导体能源研究所
发明人:
石谷哲二 | 久保田大介 | 西毅
简单同族:
CN101762913A | CN101762913B | JP2010170123A | JP2010170123A5 | JP2014112249A | JP5468376B2 | JP5859035B2 | KR101749710B1 | KR1020100075747A | TW201037429A | TWI477863B | US20100165280A1
简单同族成员数量:
12
简单同族被引用专利总数:
51
诉讼案件数:
0
法律状态/事件:
授权