首页
专利数据库
产业人才
行业动态
产业政策法规
维权援助
个人中心
登录/注册
详情
文本
图像
标题:
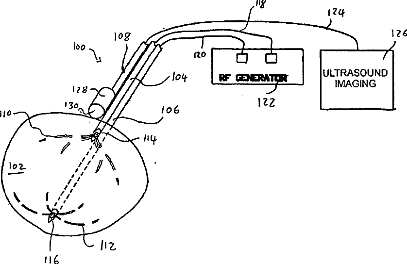
Radio frequency ablation system with integrated ultrasound imaging
授权日:
1900-01-01
公开(公告)号:
US20060178665A1
申请日:
2005-02-08
公开(公告)日:
2006-08-10
当前申请(专利权)人:
BOSTON SCIENTIFIC SCIMED, INC.
发明人:
SLOAN, TODD | OSTROVSKY, ISAAC | MCINTYRE, JON T.
简单同族:
US20060178665A1 | US7517346 | WO2006086233A1
简单同族成员数量:
3
简单同族被引用专利总数:
56
诉讼案件数:
0
法律状态/事件:
授权 | 权利转移