标题:
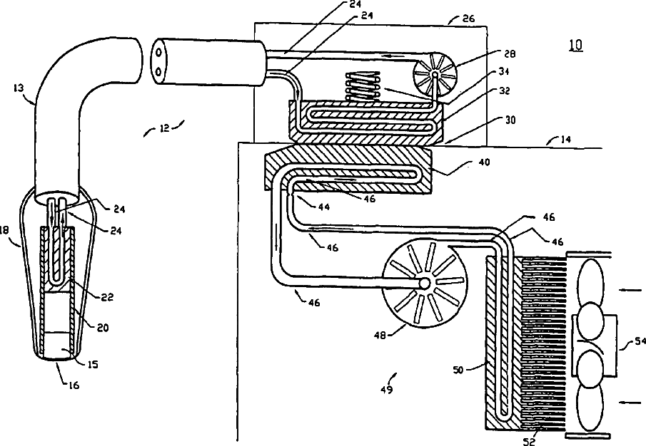
Method for using a refrigeration system to remove waste heat from an ultrasound transducer
授权日:
1900-01-01
公开(公告)号:
US20060173344A1
申请日:
2005-01-19
公开(公告)日:
2006-08-03
当前申请(专利权)人:
SIEMENS MEDICAL SOLUTIONS USA, INC.
发明人:
MARIAN, VAUGHN R. | PARK, WILLIAM J. | PETERSEN, TIMOTHY E.
简单同族:
CN1820712A | DE102006002035A1 | JP2006198413A | KR1020060084389A | US20060173344A1
简单同族成员数量:
5
简单同族被引用专利总数:
74
诉讼案件数:
0
法律状态/事件:
撤回 | 权利转移