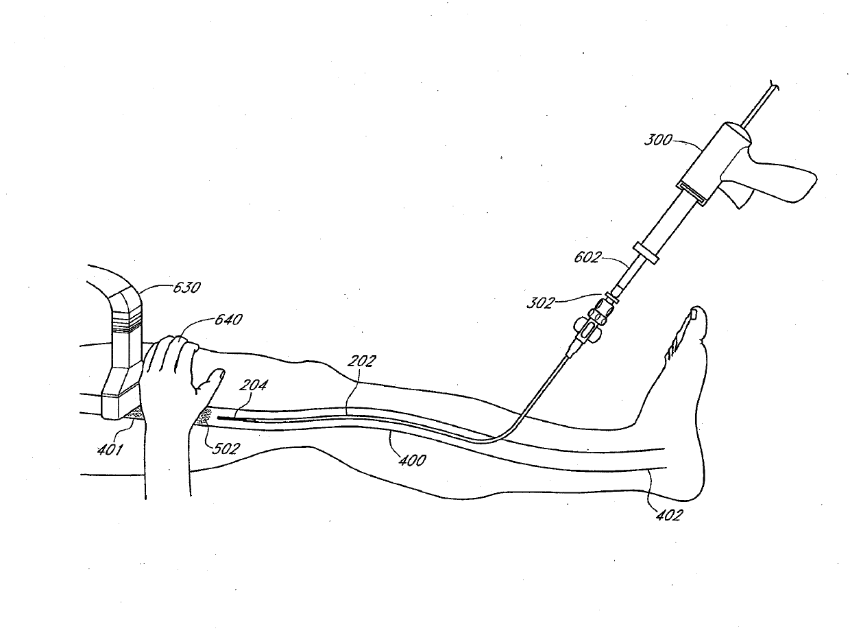
标题:
Enhanced ultrasound visualization of intravascular devices
授权日:
1900-01-01
公开(公告)号:
US20190099171A1
申请日:
2018-12-03
公开(公告)日:
2019-04-04
当前申请(专利权)人:
SAPHEON LLC
发明人:
LICHTY, II, ROBERT C. | LAU, JAN R. | RAABE, RODNEY D. | MADSEN, MONTE
简单同族:
US10143455 | US20130072907A1 | US20130116633A1 | US20150018867A1 | US20190099171A1 | US8845614 | US9561023 | WO2013013080A1
简单同族成员数量:
8
简单同族被引用专利总数:
23
诉讼案件数:
0
法律状态/事件:
实质审查 | 权利转移