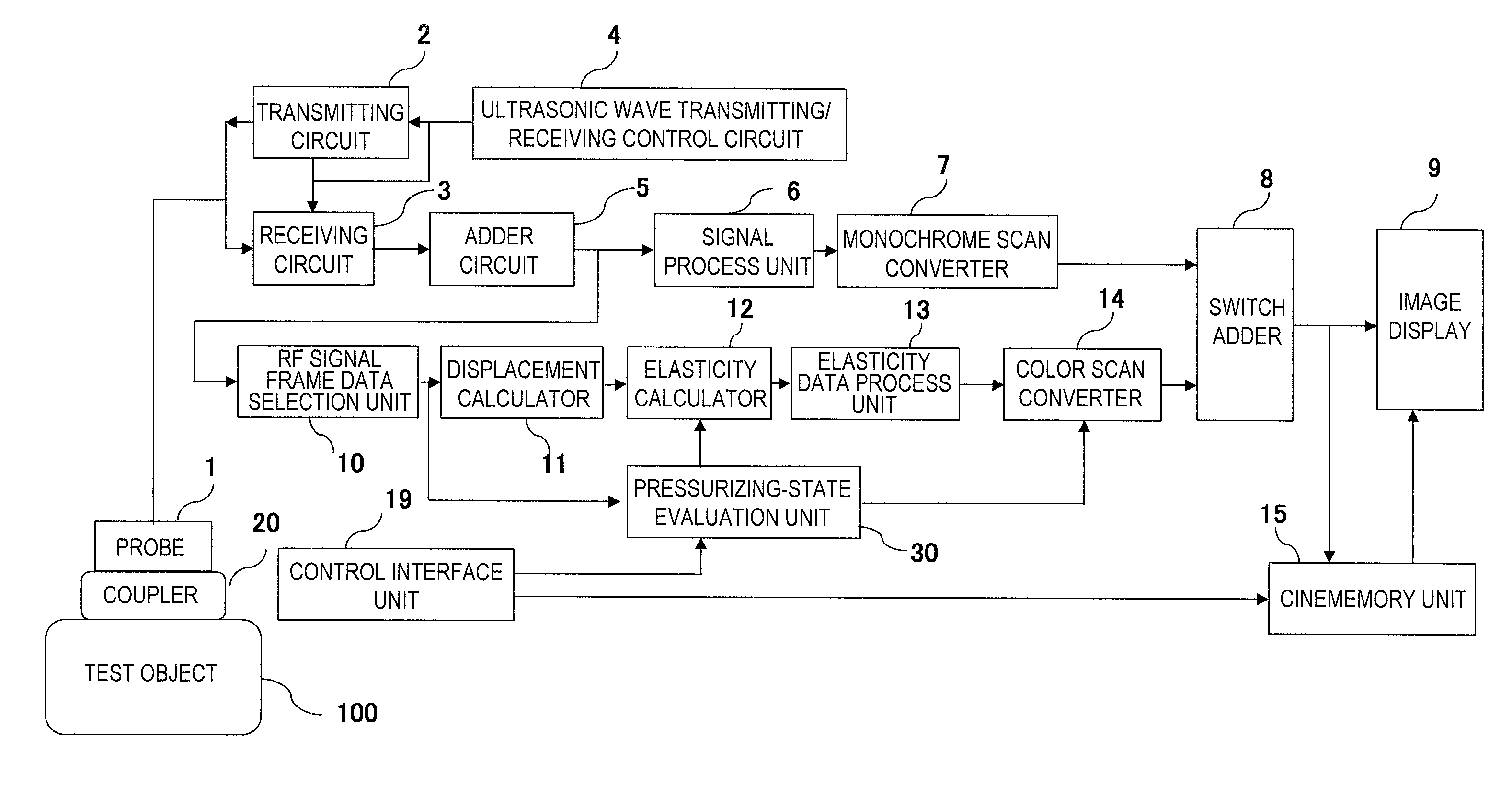
标题:
Ultrasonic diagnostic apparatus
授权日:
1900-01-01
公开(公告)号:
US20110040187A1
申请日:
2009-04-14
公开(公告)日:
2011-02-17
当前申请(专利权)人:
HITACHI, LTD.
发明人:
MATSUMURA, TAKESHI
简单同族:
CN102014757A | CN102014757B | EP2281508A1 | EP2281508A4 | EP2281508B1 | JP5329533B2 | JPWO2009131029A1 | JPWO2009131029A5 | US20110040187A1 | US8845538 | WO2009131029A1
简单同族成员数量:
11
简单同族被引用专利总数:
39
诉讼案件数:
0
法律状态/事件:
未缴年费 | 权利转移