首页
专利数据库
产业人才
行业动态
产业政策法规
维权援助
个人中心
登录/注册
详情
文本
图像
标题:
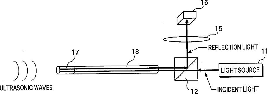
Optical converting type ultrasonic receiving apparatus
授权日:
1900-01-01
公开(公告)号:
US20020166955A1
申请日:
2002-05-08
公开(公告)日:
2002-11-14
当前申请(专利权)人:
FUJIFILM CORPORATION
发明人:
OGAWA, EIJI
简单同族:
EP1258714A2 | JP2003169801A | JP3957276B2 | KR100879730B1 | KR1020020087865A | US20020166955A1 | US6984819
简单同族成员数量:
7
简单同族被引用专利总数:
25
诉讼案件数:
0
法律状态/事件:
未缴年费 | 权利转移