首页
专利数据库
产业人才
行业动态
产业政策法规
维权援助
个人中心
登录/注册
详情
文本
图像
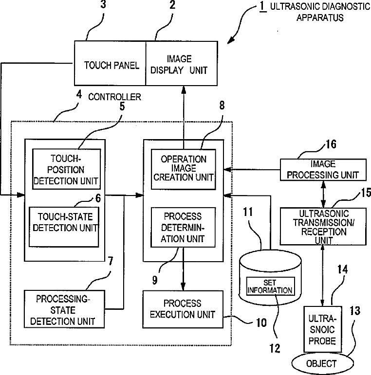
标题:
Ultrasonic diagnostic apparatus
授权日:
1900-01-01
公开(公告)号:
US20100179427A1
申请日:
2008-08-27
公开(公告)日:
2010-07-15
当前申请(专利权)人:
HITACHI MEDICAL CORPORATION
发明人:
YAMAMOTO, MASA
简单同族:
CN101835427A | CN101835427B | EP2191776A1 | EP2191776A4 | JP2009056202A | JP5737823B2 | US20100179427A1 | WO2009031443A1
简单同族成员数量:
8
简单同族被引用专利总数:
67
诉讼案件数:
0
法律状态/事件:
撤回 | 权利转移