首页
专利数据库
产业人才
行业动态
产业政策法规
维权援助
个人中心
登录/注册
详情
文本
图像
标题:
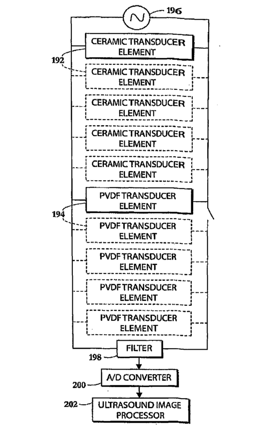
Dual-Mode Piezocomposite Ultrasonic Transducer
授权日:
1900-01-01
公开(公告)号:
US20130060140A1
申请日:
2011-05-20
公开(公告)日:
2013-03-07
当前申请(专利权)人:
MISONIX INCORPORATED
发明人:
SINELNIKOV, YEGOR
简单同族:
CA2799717A1 | CA2799717C | US20130060140A1 | US20140180103A1 | US8698377 | US9517053 | WO2011146138A2 | WO2011146138A3
简单同族成员数量:
8
简单同族被引用专利总数:
41
诉讼案件数:
0
法律状态/事件:
授权 | 质押 | 权利转移