首页
专利数据库
产业人才
行业动态
产业政策法规
维权援助
个人中心
登录/注册
详情
文本
图像
标题:
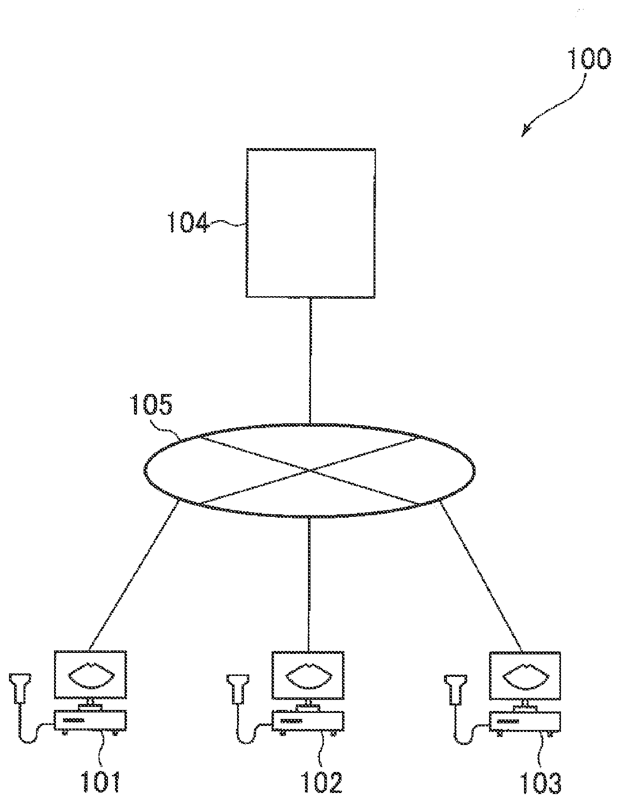
Ultrasound diagnostic system
授权日:
1900-01-01
公开(公告)号:
US20190365359A1
申请日:
2019-05-31
公开(公告)日:
2019-12-05
当前申请(专利权)人:
GENERAL ELECTRIC COMPANY
发明人:
TERAOKA, YURI | SHIBATA, YUKO | ARIMA, MANABU | FUNAYA, SEIJI | OGASAWARA, MASARU
简单同族:
JP2019208602A | JP6554583B1 | US20190365359A1
简单同族成员数量:
3
简单同族被引用专利总数:
0
诉讼案件数:
0
法律状态/事件:
实质审查