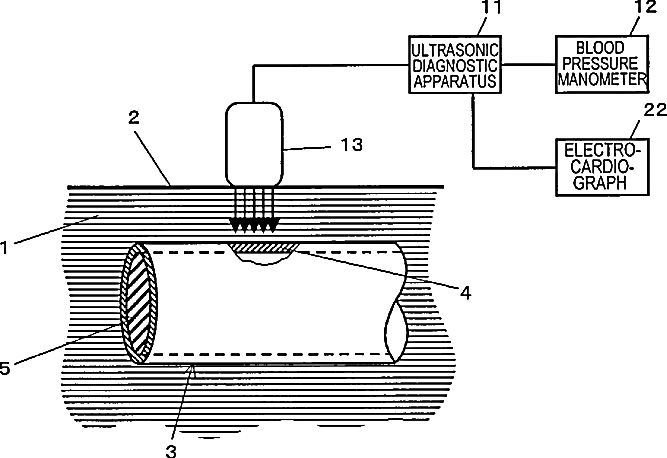
标题:
Ultrasonograph and Ultrasonograph Control Method
授权日:
1900-01-01
公开(公告)号:
US20080021318A1
申请日:
2005-07-27
公开(公告)日:
2008-01-24
当前申请(专利权)人:
KONICA MINOLTA, INC.
发明人:
KATO, MAKOTO | HAGIWARA, HISASHI | SUNAGAWA, KAZUHIRO | TANNAKA, YOSHINAO
简单同族:
CN101697928A | CN101697928B | DE602005019173D1 | EP1779785A1 | EP1779785A4 | EP1779785B1 | EP2168495A1 | EP2168495B1 | EP2177165A1 | EP2177165B1 | JP4602972B2 | JPWO2006011504A1 | US20080021318A1 | US8414491 | WO2006011504A1
简单同族成员数量:
15
简单同族被引用专利总数:
47
诉讼案件数:
0
法律状态/事件:
授权 | 权利转移