首页
专利数据库
产业人才
行业动态
产业政策法规
维权援助
个人中心
登录/注册
详情
文本
图像
标题:
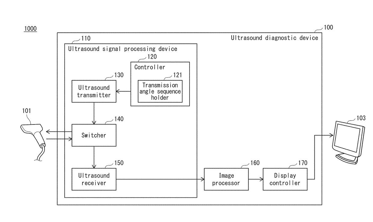
Ultrasound signal processing device, ultrasound diagnostic device, and ultrasound signal processing method
授权日:
1900-01-01
公开(公告)号:
US20170360409A1
申请日:
2017-06-08
公开(公告)日:
2017-12-21
当前申请(专利权)人:
KONICA MINOLTA, INC.
发明人:
SUSUMU, YASUAKI
简单同族:
JP2017221511A | JP6642294B2 | US20170360409A1
简单同族成员数量:
3
简单同族被引用专利总数:
0
诉讼案件数:
0
法律状态/事件:
实质审查 | 权利转移