首页
专利数据库
产业人才
行业动态
产业政策法规
维权援助
个人中心
登录/注册
详情
文本
图像
标题:
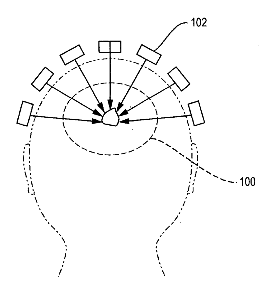
Multimode ultrasound focusing for medical applications
授权日:
1900-01-01
公开(公告)号:
US20100268088A1
申请日:
2009-04-17
公开(公告)日:
2010-10-21
当前申请(专利权)人:
INSIGHTEC, LTD.
发明人:
PRUS, OLEG | VITEK, SHUKI
简单同族:
EP2429656A1 | EP2429656B1 | US20100268088A1 | US8617073 | WO2010119340A1
简单同族成员数量:
5
简单同族被引用专利总数:
57
诉讼案件数:
0
法律状态/事件:
授权 | 权利转移