首页
专利数据库
产业人才
行业动态
产业政策法规
维权援助
个人中心
登录/注册
详情
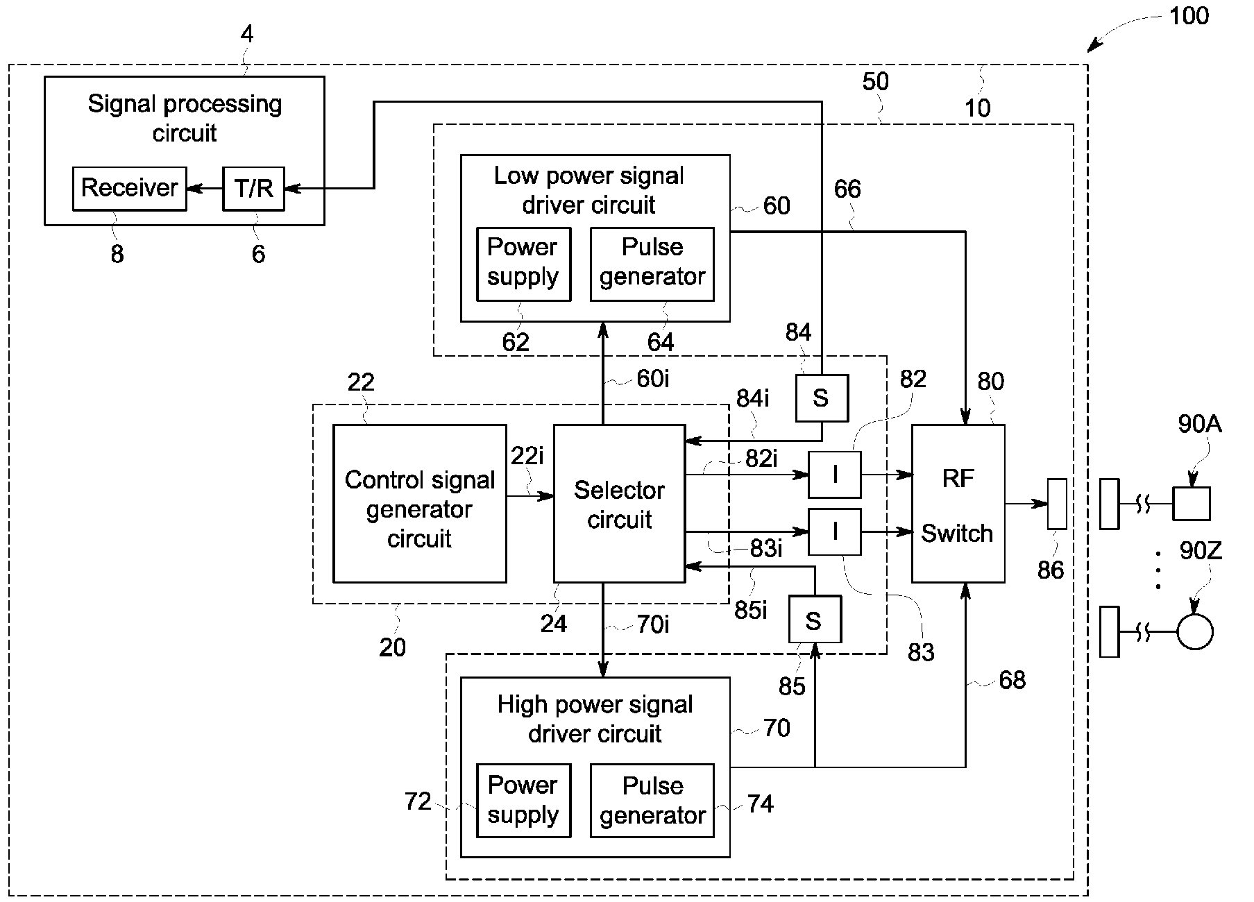
文本
图像
标题:
Flexible ultrasound system for both imaging and high power delivery applications
授权日:
1900-01-01
公开(公告)号:
US20180329045A1
申请日:
2017-05-12
公开(公告)日:
2018-11-15
当前申请(专利权)人:
GENERAL ELECTRIC COMPANY
发明人:
PENG, HAN | GLASER, JOHN | WALL, KIERAN | SABATE, JUAN
简单同族:
US20180329045A1
简单同族成员数量:
1
简单同族被引用专利总数:
0
诉讼案件数:
0
法律状态/事件:
实质审查 | 权利转移