首页
专利数据库
产业人才
行业动态
产业政策法规
维权援助
个人中心
登录/注册
详情
文本
图像
标题:
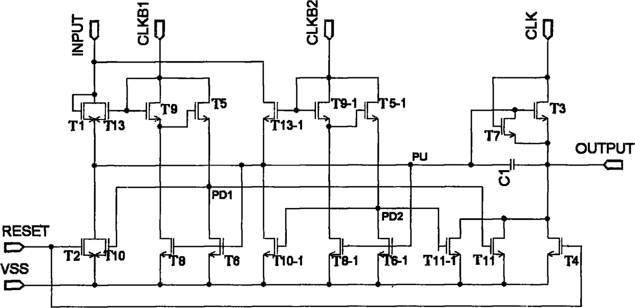
移位寄存器、液晶显示器栅极驱动装置和数据线驱动装置
授权日:
1900-01-01
公开(公告)号:
CN102237029A
申请日:
2010-04-23
公开(公告)日:
2011-11-09
当前申请(专利权)人:
北京京东方光电科技有限公司
发明人:
韩承佑
简单同族:
CN102237029A | CN102237029B | EP2562761A1 | EP2562761A4 | EP2562761B1 | JP2013530478A | JP6114183B2 | KR101365233B1 | KR1020120028333A | US20120113088A1 | US8736537 | WO2011131130A1
简单同族成员数量:
12
简单同族被引用专利总数:
70
诉讼案件数:
0
法律状态/事件:
授权