首页
专利数据库
产业人才
行业动态
产业政策法规
维权援助
个人中心
登录/注册
详情
文本
图像
标题:
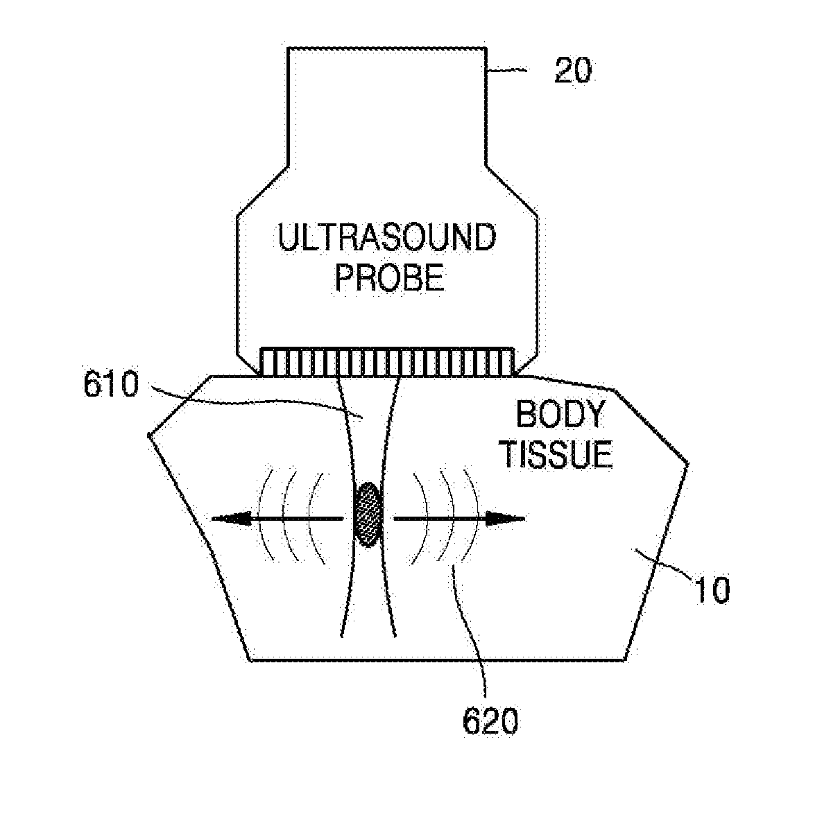
Apparatus and method of measuring elasticity using ultrasound
授权日:
1900-01-01
公开(公告)号:
US20160278741A1
申请日:
2016-01-05
公开(公告)日:
2016-09-29
当前申请(专利权)人:
SAMSUNG MEDISON CO., LTD.
发明人:
YANG, SUN-MO | KIM, YONG-SOO | LEE, SEUNG-JU
简单同族:
US20160278741A1
简单同族成员数量:
1
简单同族被引用专利总数:
0
诉讼案件数:
0
法律状态/事件:
撤回 | 权利转移