首页
专利数据库
产业人才
行业动态
产业政策法规
维权援助
个人中心
登录/注册
详情
文本
图像
标题:
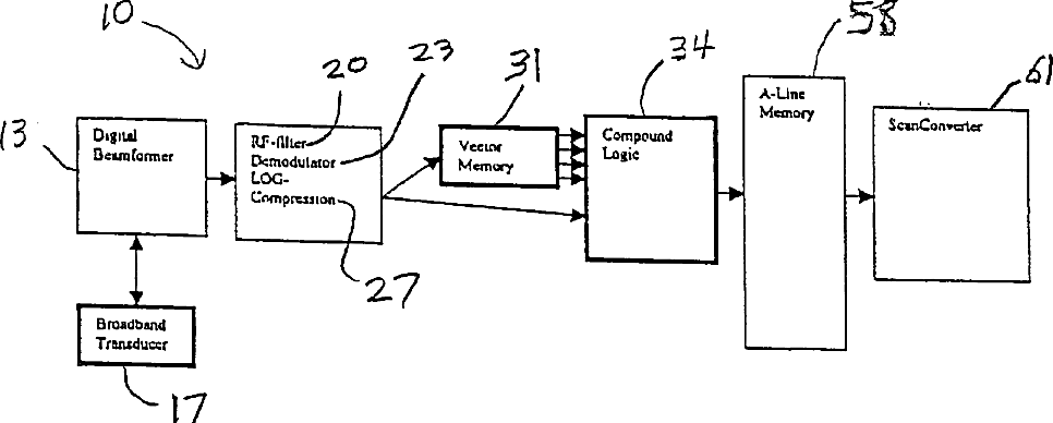
Methods and apparatus for ultrasonic compound imaging
授权日:
1900-01-01
公开(公告)号:
US20030055334A1
申请日:
2001-09-18
公开(公告)日:
2003-03-20
当前申请(专利权)人:
KRETZTECHNIK AG
发明人:
STEINBACHER, FRANZ | STEININGER, JOSEF
简单同族:
DE10243151A1 | JP2003175034A | US20030055334A1 | US7011632
简单同族成员数量:
4
简单同族被引用专利总数:
25
诉讼案件数:
0
法律状态/事件:
授权 | 权利转移