首页
专利数据库
产业人才
行业动态
产业政策法规
维权援助
个人中心
登录/注册
详情
文本
图像
标题:
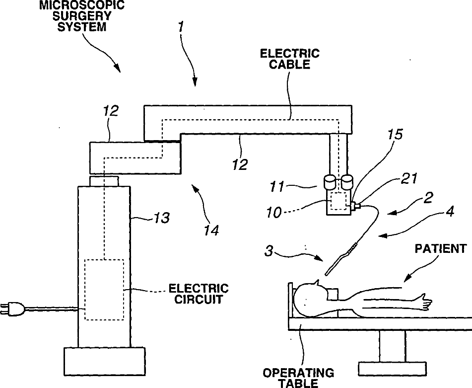
Ultrasonic probe for operation under microscope
授权日:
1900-01-01
公开(公告)号:
US20040049111A1
申请日:
2003-09-09
公开(公告)日:
2004-03-11
当前申请(专利权)人:
OLYMPUS CORPORATION
发明人:
HIROOKA, KENJI | OHDACHI, ICHIRO | TSUTAKI, SHINICHI
简单同族:
JP2001224595A | US20030045768A1 | US20040049111A1 | US6641539 | US7258668
简单同族成员数量:
5
简单同族被引用专利总数:
87
诉讼案件数:
0
法律状态/事件:
未缴年费 | 权利转移