首页
专利数据库
产业人才
行业动态
产业政策法规
维权援助
个人中心
登录/注册
详情
文本
图像
标题:
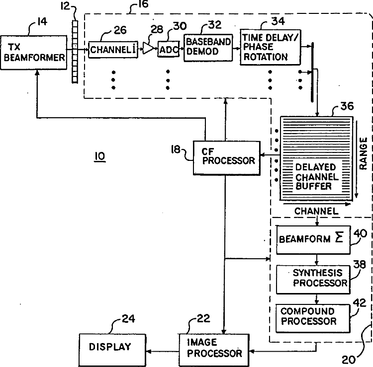
Coherence factor adaptive ultrasound imaging methods and systems
授权日:
1900-01-01
公开(公告)号:
US20050228279A1
申请日:
2004-03-31
公开(公告)日:
2005-10-13
当前申请(专利权)人:
SIEMENS MEDICAL SOLUTIONS USA, INC.
发明人:
USTUNER, KUTAY F. | LI, PAI-CHI | LI, MENG-LIN | THOMAS, LEWIS J. | GEE, ALBERT
简单同族:
US20050228279A1 | US7744532
简单同族成员数量:
2
简单同族被引用专利总数:
95
诉讼案件数:
0
法律状态/事件:
授权 | 权利转移