首页
专利数据库
产业人才
行业动态
产业政策法规
维权援助
个人中心
登录/注册
详情
文本
图像
标题:
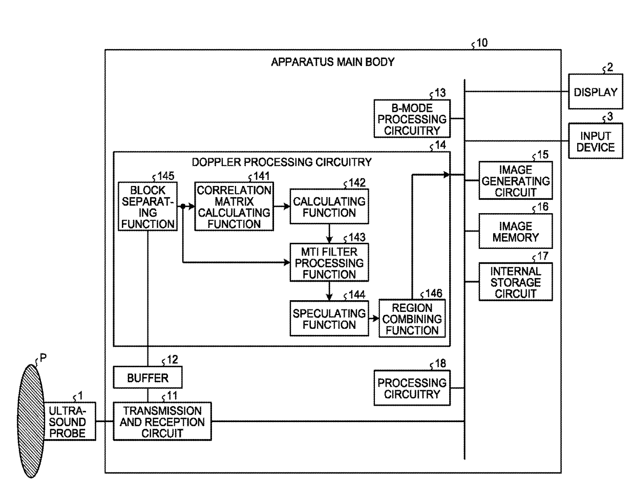
Ultrasound diagnosis apparatus, medical image processing apparatus, and medical image processing method
授权日:
1900-01-01
公开(公告)号:
US20190159750A1
申请日:
2018-11-28
公开(公告)日:
2019-05-30
当前申请(专利权)人:
CANON MEDICAL SYSTEMS CORPORATION
发明人:
SATO, TAKESHI
简单同族:
JP2019097795A | US20190159750A1
简单同族成员数量:
2
简单同族被引用专利总数:
0
诉讼案件数:
0
法律状态/事件:
实质审查 | 权利转移