首页
专利数据库
产业人才
行业动态
产业政策法规
维权援助
个人中心
登录/注册
详情
文本
图像
标题:
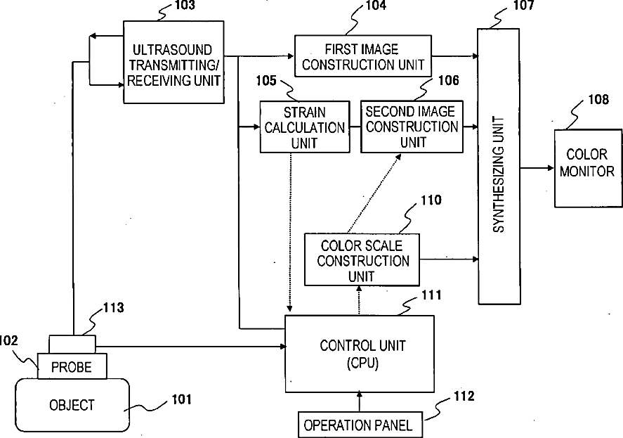
Ultrasonic Diagnostic Apparatus
授权日:
1900-01-01
公开(公告)号:
US20080051659A1
申请日:
2005-06-16
公开(公告)日:
2008-02-28
当前申请(专利权)人:
HITACHI MEDICAL CORPORATION
发明人:
WAKI, KOJI | MURAYAMA, NAOYUKI
简单同族:
JP5203605B2 | JPWO2005122906A1 | US20080051659A1 | WO2005122906A1
简单同族成员数量:
4
简单同族被引用专利总数:
107
诉讼案件数:
0
法律状态/事件:
撤回 | 权利转移