首页
专利数据库
产业人才
行业动态
产业政策法规
维权援助
个人中心
登录/注册
详情
文本
图像
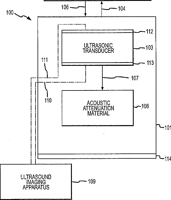
标题:
Ultrasonic Attentuation Materials
授权日:
1900-01-01
公开(公告)号:
US20080243001A1
申请日:
2007-03-30
公开(公告)日:
2008-10-02
当前申请(专利权)人:
W. L. GORE & ASSOCIATES, INC.
发明人:
OAKLEY, CLYDE GERALD | SHEPARD, MICHAEL J. | ZIPPARO, MICHAEL J. | SCHOLZ, HERMANN
简单同族:
US20080243001A1 | US20110198151A1 | US7956514 | US8556030
简单同族成员数量:
4
简单同族被引用专利总数:
44
诉讼案件数:
0
法律状态/事件:
授权 | 权利转移