首页
专利数据库
产业人才
行业动态
产业政策法规
维权援助
个人中心
登录/注册
详情
文本
图像
标题:
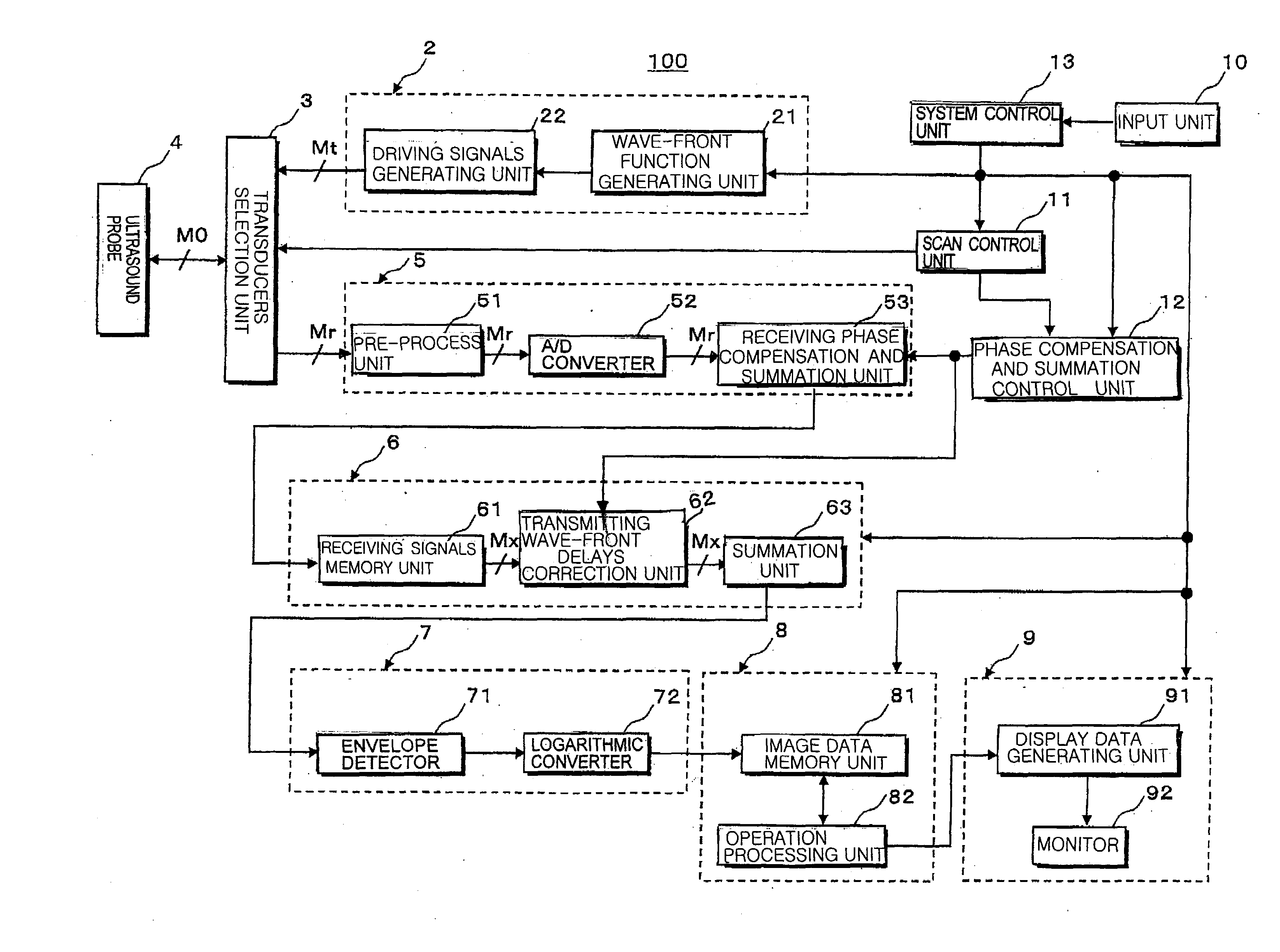
Ultrasound diagnosis apparatus
授权日:
1900-01-01
公开(公告)号:
US20090326377A1
申请日:
2009-03-30
公开(公告)日:
2009-12-31
当前申请(专利权)人:
TOSHIBA MEDICAL SYSTEMS CORPORATION
发明人:
HIRAMA, MAKOTO
简单同族:
CN101548896A | CN101548896B | EP2107388A1 | EP2738569A2 | EP2738569A3 | JP2009240700A | JP5355924B2 | US20090326377A1 | US8485977
简单同族成员数量:
9
简单同族被引用专利总数:
79
诉讼案件数:
0
法律状态/事件:
授权 | 权利转移